EasyManua.ls Logo

Siemens 6RA8085-6DS22

Siemens 6RA8085-6DS22
758 pages
To Next Page IconTo Next Page
To Next Page IconTo Next Page
To Previous Page IconTo Previous Page
To Previous Page IconTo Previous Page
Loading...
SINAMICS DCM DC Converter
Operating Instructions, 12/2018, A5E34763375A
705
Applications
12
12.1
Using SINAMICS DCM in shipbuilding
When using SINAMICS DCM in shipbuilding, the following points must be observed:
Radio interference suppression filters must be used in the armature circuit and in the field
circuit (see Chapter "Connecting (Page 91)")
For EMC-compliant installation, see Chapter "Connecting (Page 91)".
Use coated modules (option M08), see Chapter "Ordering information for options and
accessories (Page 30)".
12.2
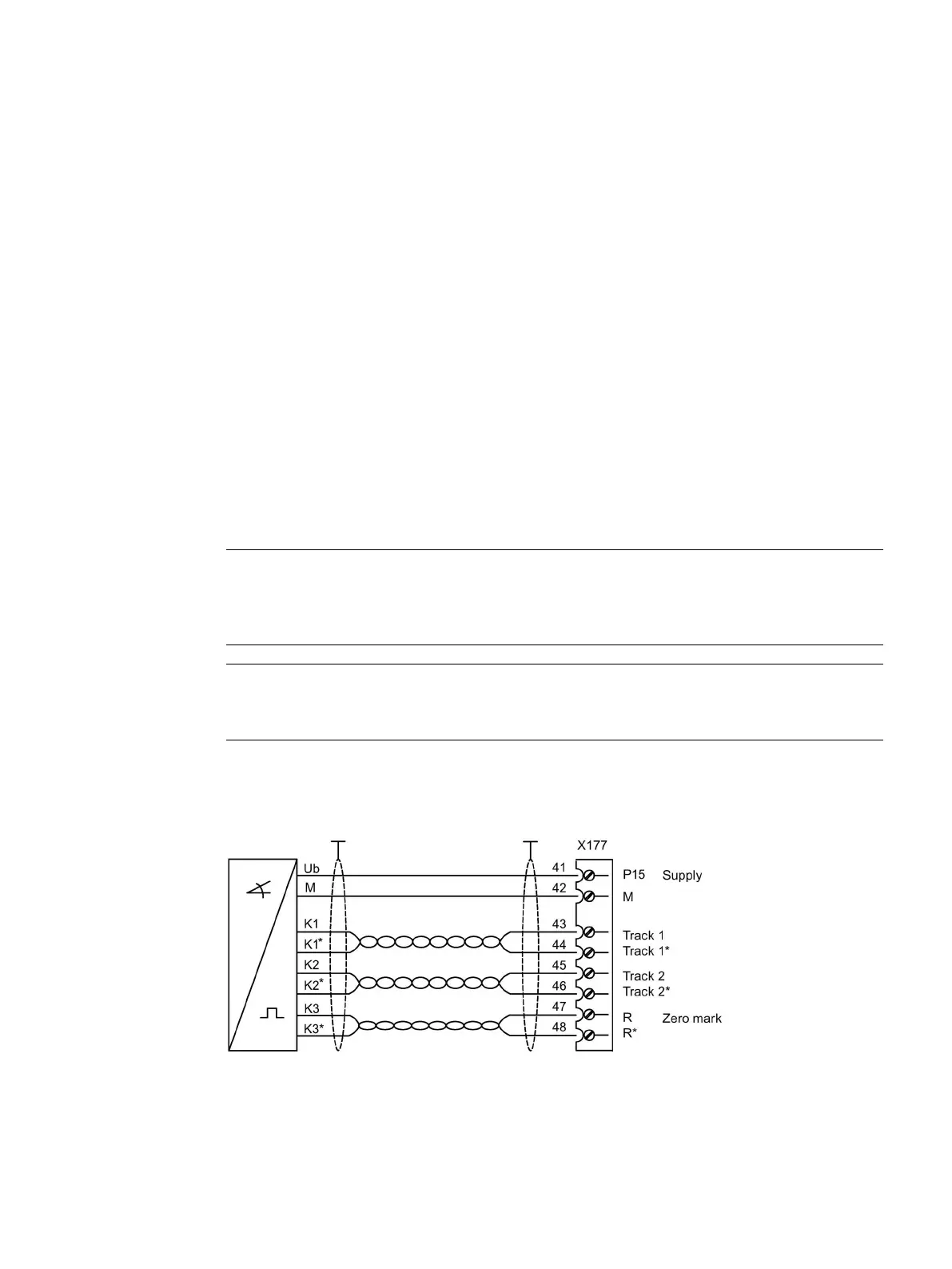
Connecting an incremental encoder
Note
Because the physical transmission media is more robust, the bipolar connection should
always be used. The unipolar connection should only be used if the encoder type does not
output push
-pull signals.
Note
The technical data of the incremental encoder
inputs (X177.41 to 48) and further information
on how to connect an incremental encoder are given in Chapter
"Connecting (Page 91)".
HTL encoder, bipolar, with zero signal
Improved protection against induced interference is achieved by twisting the signal lines in pairs.
Figure 12-1 Bipolar incremental encoder

Table of Contents

Related product manuals