EasyManua.ls Logo

Siemens OCI600 - Communication Via RS-232 Port

Siemens OCI600
72 pages
Print Icon
To Next Page IconTo Next Page
To Next Page IconTo Next Page
To Previous Page IconTo Previous Page
To Previous Page IconTo Previous Page
Loading...
49/72
Building Technologies User Manual OCI600 74 319 0002 0 c
HVAC Products Communication and delivery of alarms 15.07.2005
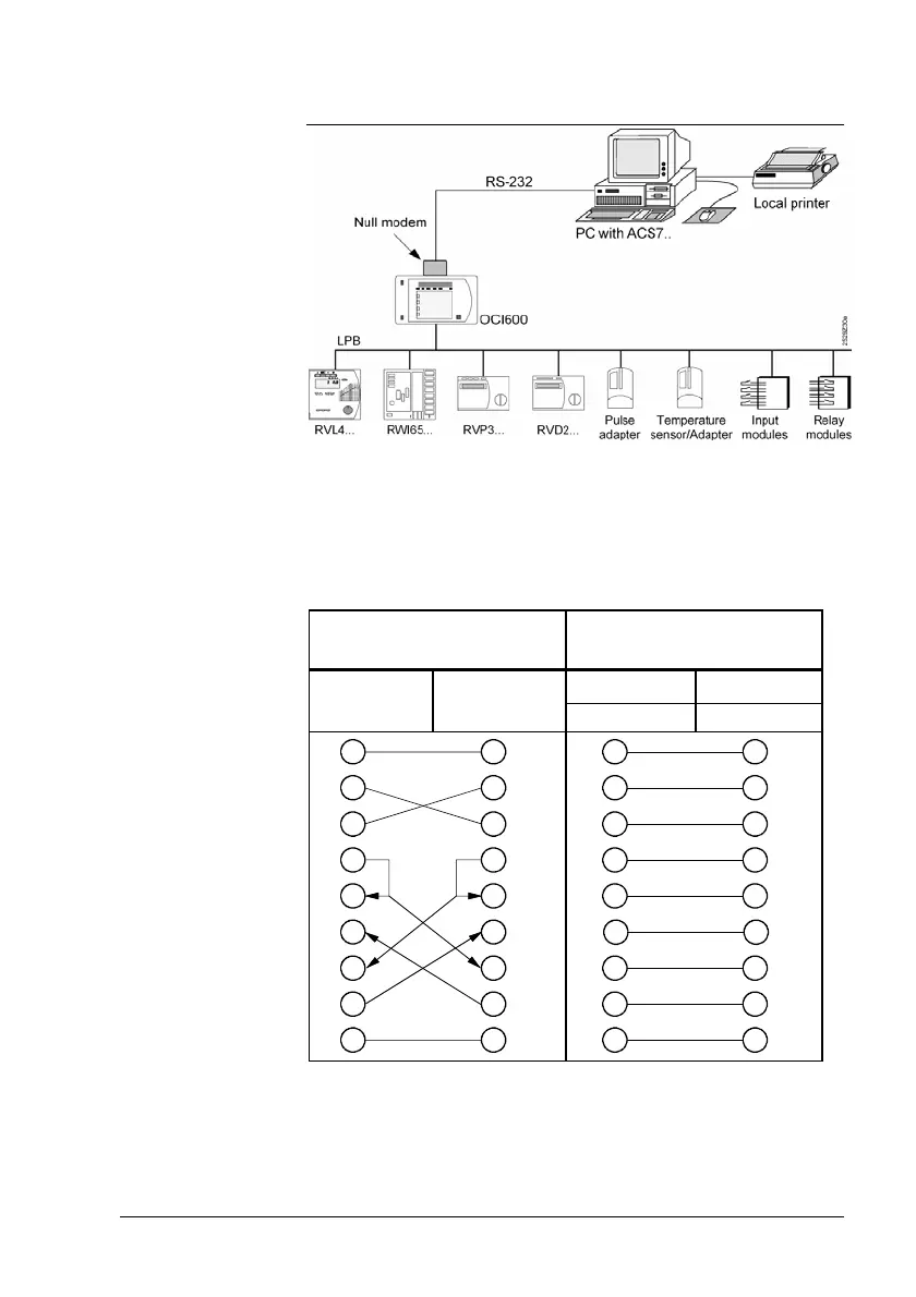
5.2 Communication via RS-232 port
Topology of a plant with direct communication via the RS-
232 port.
The following illustration shows wiring with the standard null
modem and the link cable.
Standard null modem
cable
Link cable
25 pins 9 pins
25 pins 25 pins
Female Female
2861Z06
1
2
3
4
5
6
7
8
20
1
2
3
4
5
6
7
8
20
2861Z07
7
2
3
4
5
6
22
8
20
5
2
3
1
4
4
9
7
6/8
Standard null
modem and
link cable

Table of Contents

Related product manuals