EasyManua.ls Logo

SMAR TT301 - Local Adjustment: Configuration Menu

SMAR TT301
74 pages
Print Icon
To Next Page IconTo Next Page
To Next Page IconTo Next Page
To Previous Page IconTo Previous Page
To Previous Page IconTo Previous Page
Loading...
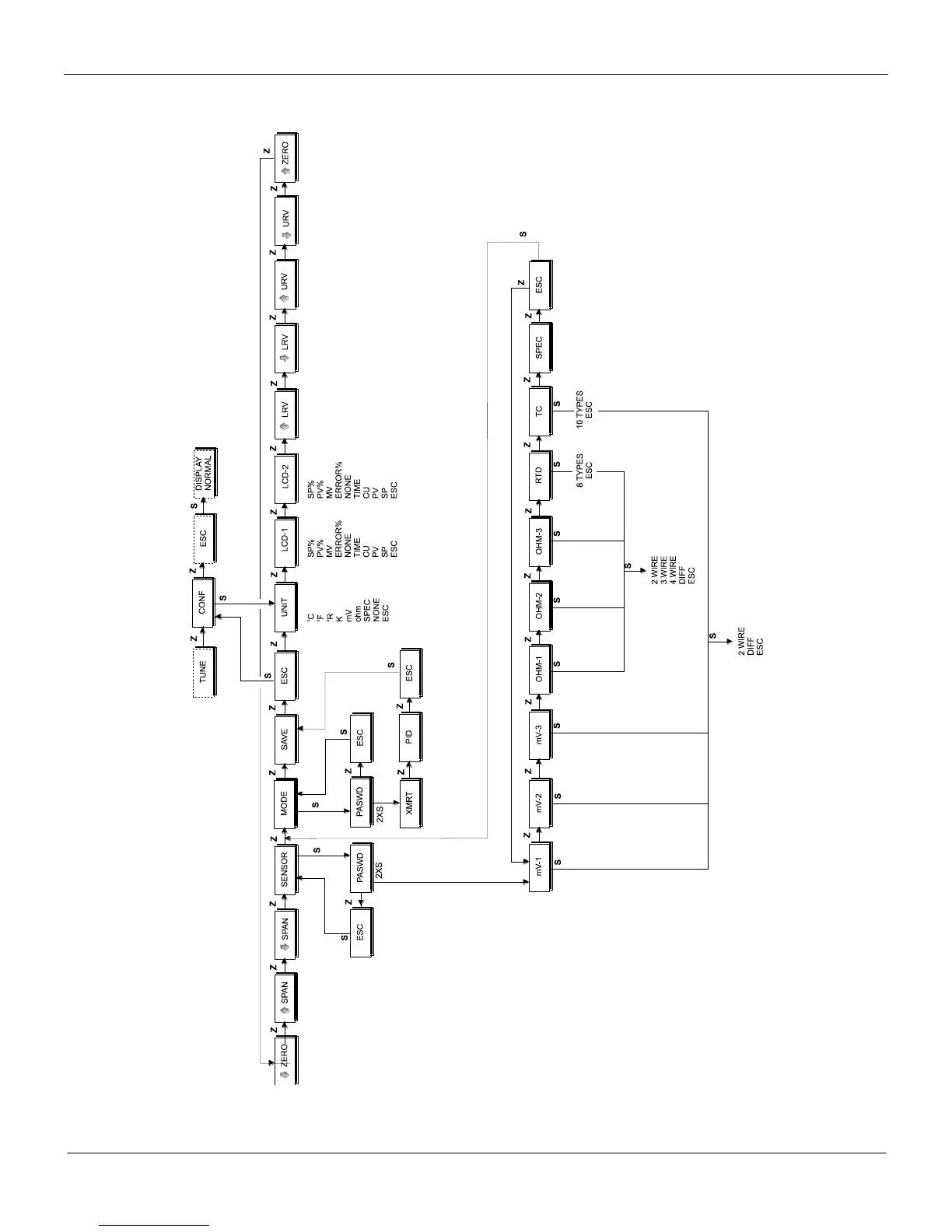
Programming Using Local Adjustment
4.9
Configuration [CONF]
Figure 4.7 Local Adjustment Configuration Tree

Table of Contents

Related product manuals