EasyManua.ls Logo

SMC Networks ZSE80(F) - Hysteresis setting

SMC Networks ZSE80(F)
61 pages
Print Icon
To Next Page IconTo Next Page
To Next Page IconTo Next Page
To Previous Page IconTo Previous Page
To Previous Page IconTo Previous Page
Loading...
-27-
PS##-OMM0003-A
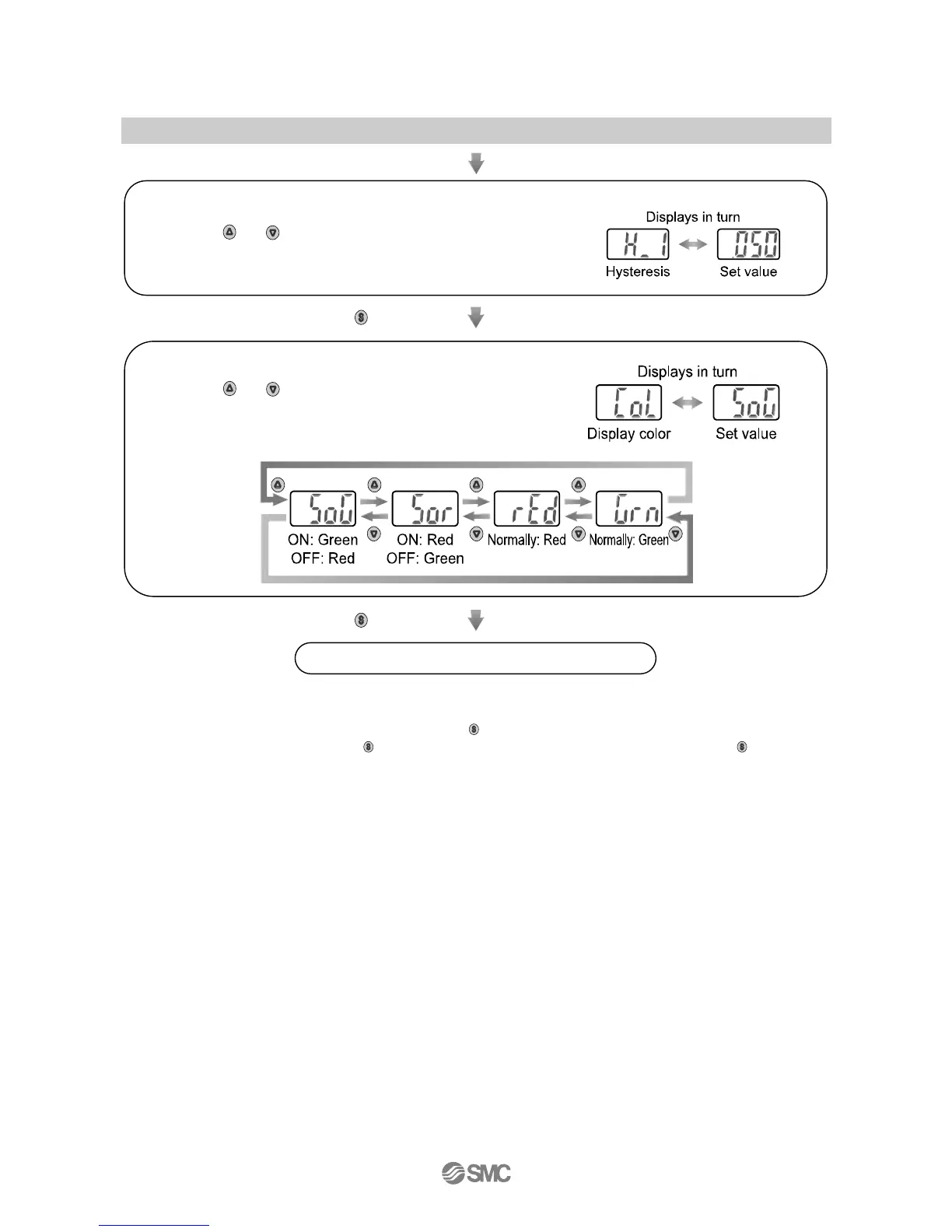
Press the
button to set.
Move on to setting of display color.
Press the
button to set.
Return to function selection mode.
Setting of [F 1] operation of OUT1 completed
1: Selected parameter become effective after pressing the button.
2: After having setting effective by the
button, it is possible to move to measurement mode by pressing the button again.
Setting of hysteresis
Press the
or button to select hysteresis.
Setting of display color
Press the
or button to select display color.

Related product manuals