EasyManua.ls Logo

Sony STR-DA777ES - Front Panel Section

Sony STR-DA777ES
80 pages
Print Icon
To Next Page IconTo Next Page
To Next Page IconTo Next Page
To Previous Page IconTo Previous Page
To Previous Page IconTo Previous Page
Loading...
54
#3
#9
#4
FL102
FL101
#8
b
a
a
b
c
c
not supplied
not supplied
not supplied
not supplied
not supplied
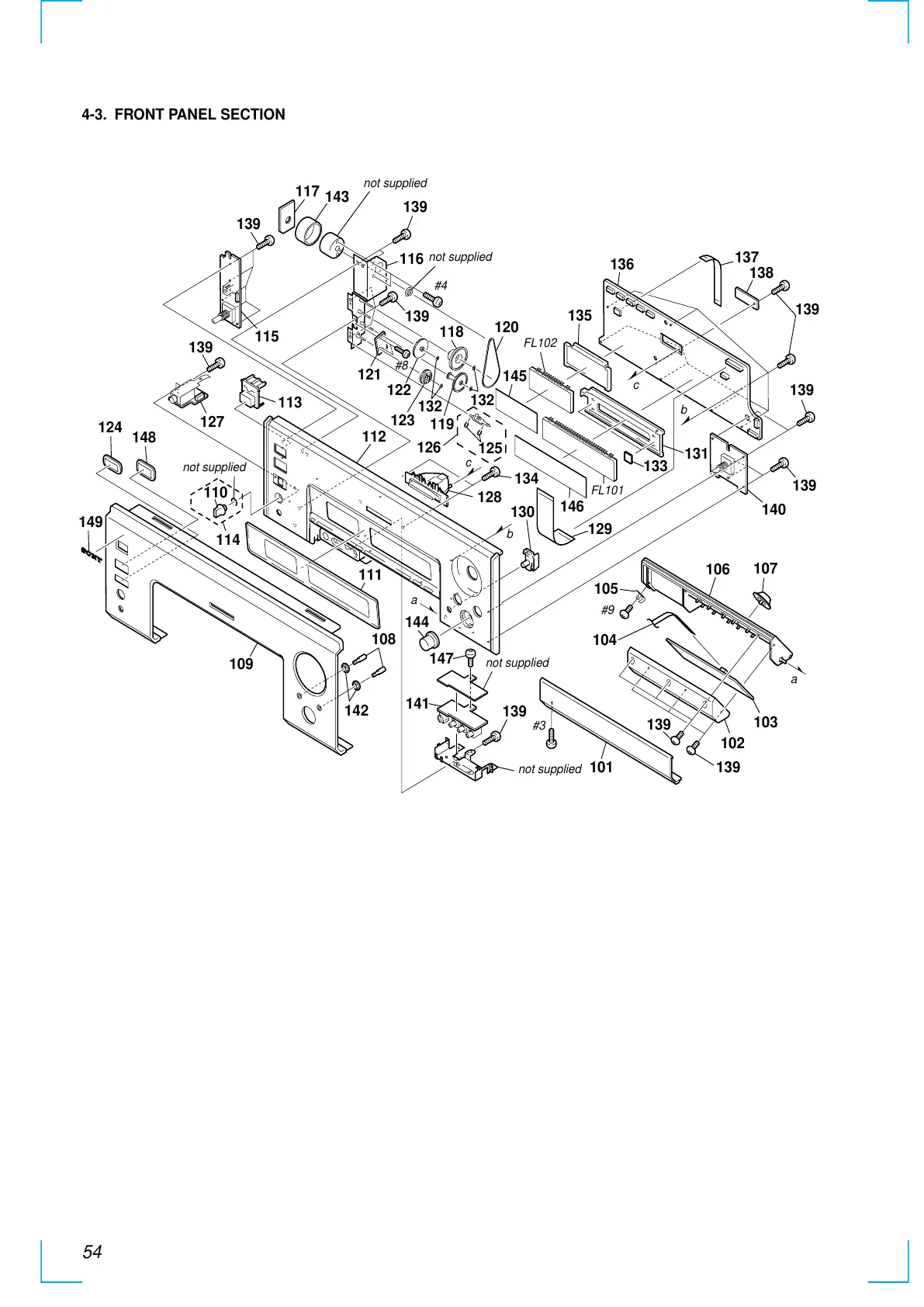
101
102
103
104
105
106
107
108
142
109
110
111
114
113
127
139
112
115
117
143
116
139
139
118
119
132
132
120
125
121
122
123
126
129
146
145
130
134
135
136
137
138
140
139
139
139
141
147
144
139
139
139
139
131
133
128
124
148
149
4-3. FRONT PANEL SECTION
All manuals and user guides at all-guides.com

Table of Contents

Related product manuals