EasyManua.ls Logo

Soredex CRANEX Novus e - Page 40

Soredex CRANEX Novus e
122 pages
Print Icon
To Next Page IconTo Next Page
To Next Page IconTo Next Page
To Previous Page IconTo Previous Page
To Previous Page IconTo Previous Page
Loading...
CRANEX
®
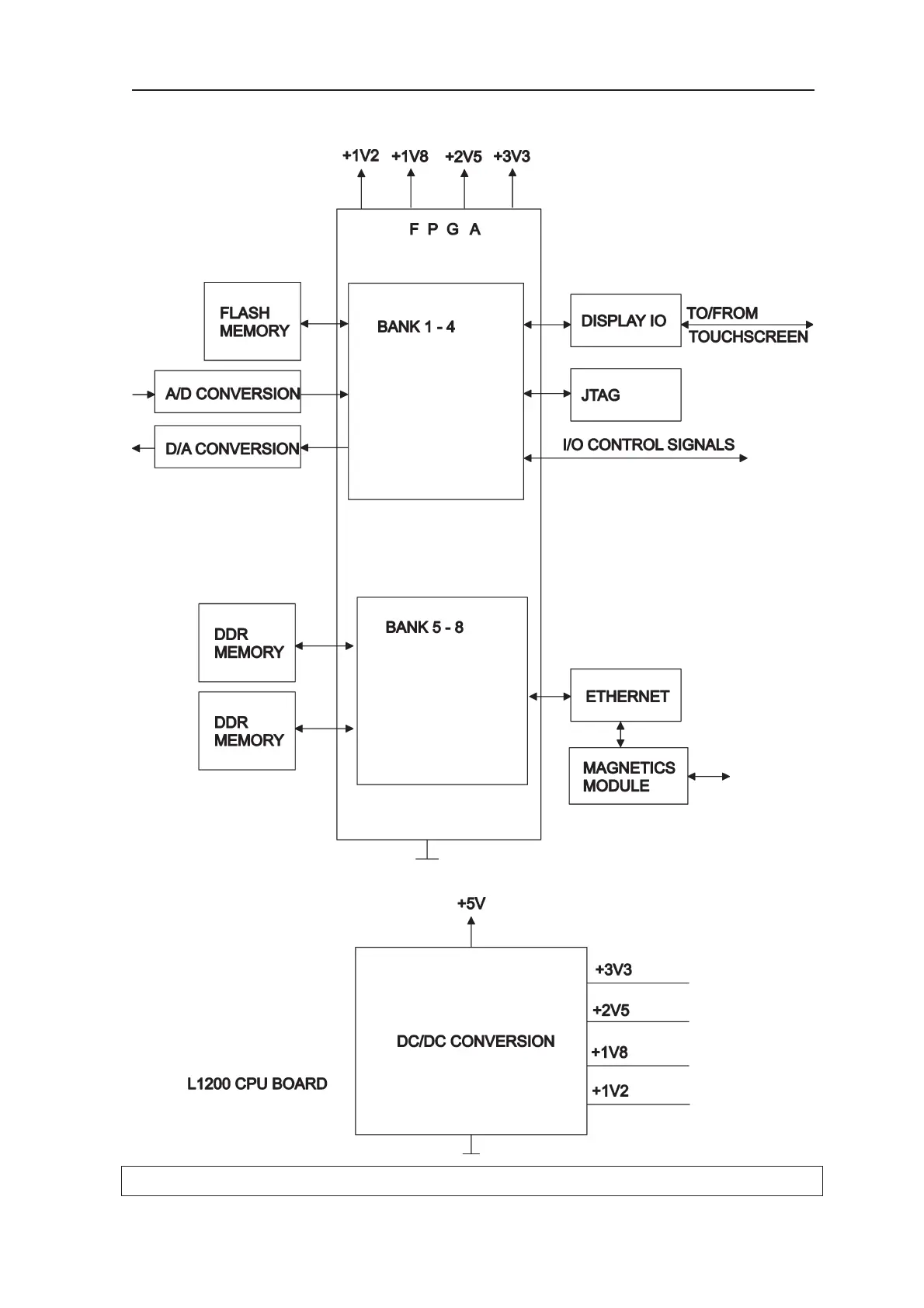
Novus e 3. Circuit Boards - L1200, CPU Board
Service manual 31
L1200 - Block Diagram

Table of Contents

Other manuals for Soredex CRANEX Novus e

Related product manuals