EasyManua.ls Logo

Stepp SPHD series - Pumping System for Tack Tank

Default Icon
192 pages
Print Icon
To Next Page IconTo Next Page
To Next Page IconTo Next Page
To Previous Page IconTo Previous Page
To Previous Page IconTo Previous Page
Loading...
81
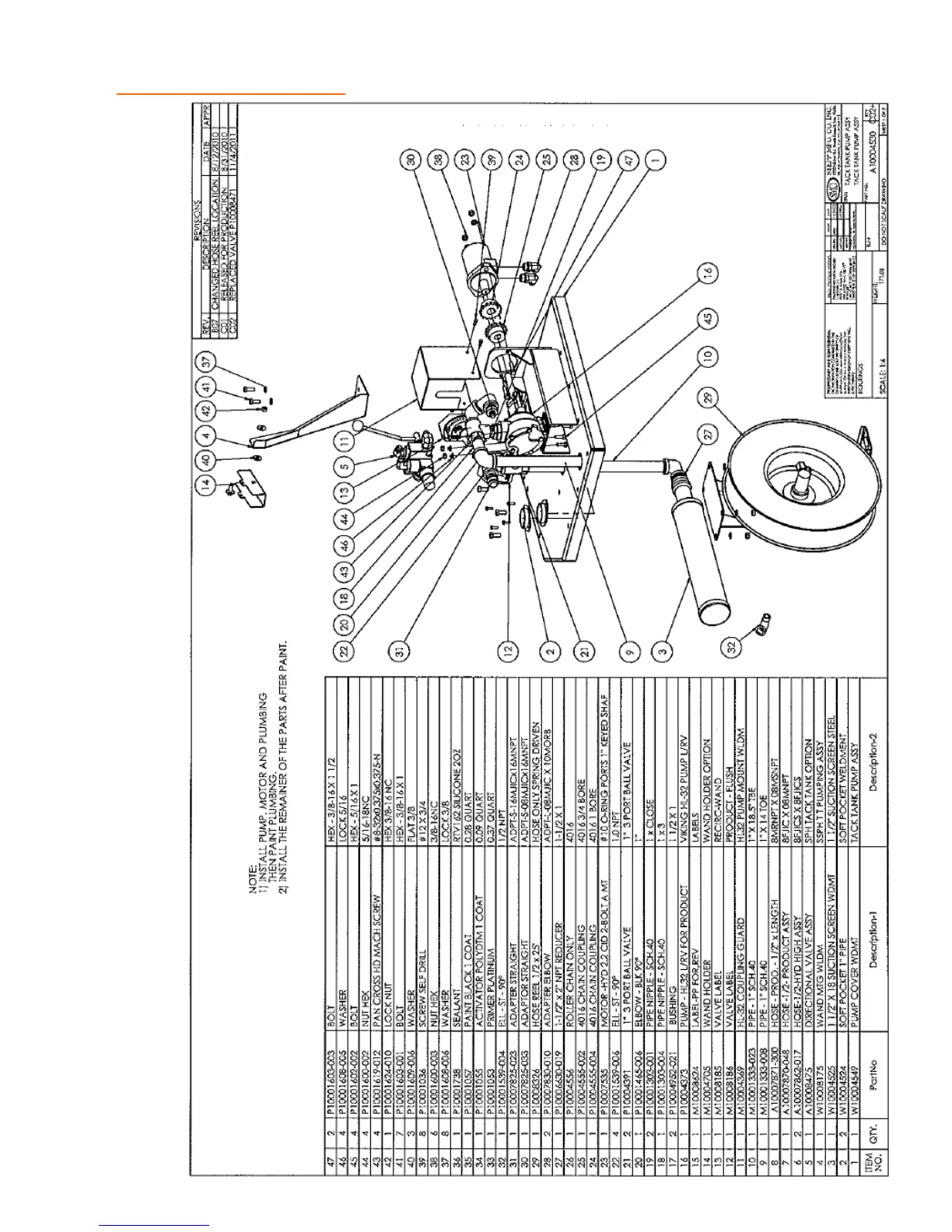
REPLACEMENT PARTS Pumping System for Tack Tank

Table of Contents

Related product manuals