EasyManua.ls Logo

Steris SYSTEM 1E - Page 137

Steris SYSTEM 1E
179 pages
Print Icon
To Next Page IconTo Next Page
To Next Page IconTo Next Page
To Previous Page IconTo Previous Page
To Previous Page IconTo Previous Page
Loading...
28
764333-676
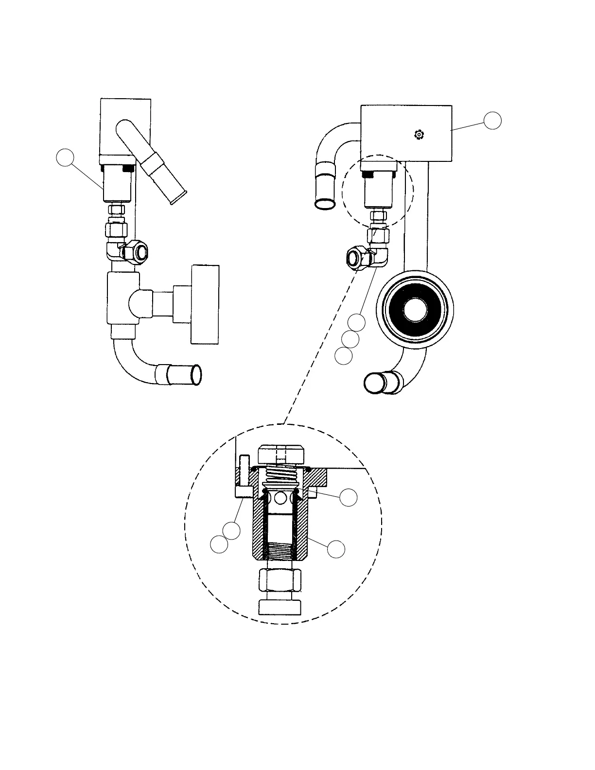
Figure 9. Drain Block Assembly
3
4
5
6
7
3
1
2
8
CK8
TC3

Table of Contents

Related product manuals