EasyManua.ls Logo

Subaru Outback 2006 - Replacing Bulbs

Subaru Outback 2006
438 pages
Print Icon
To Next Page IconTo Next Page
To Next Page IconTo Next Page
To Previous Page IconTo Previous Page
To Previous Page IconTo Previous Page
Loading...
Black plate (403,1)
Model "A2440BE-A" EDITED: 2006/ 12/ 6
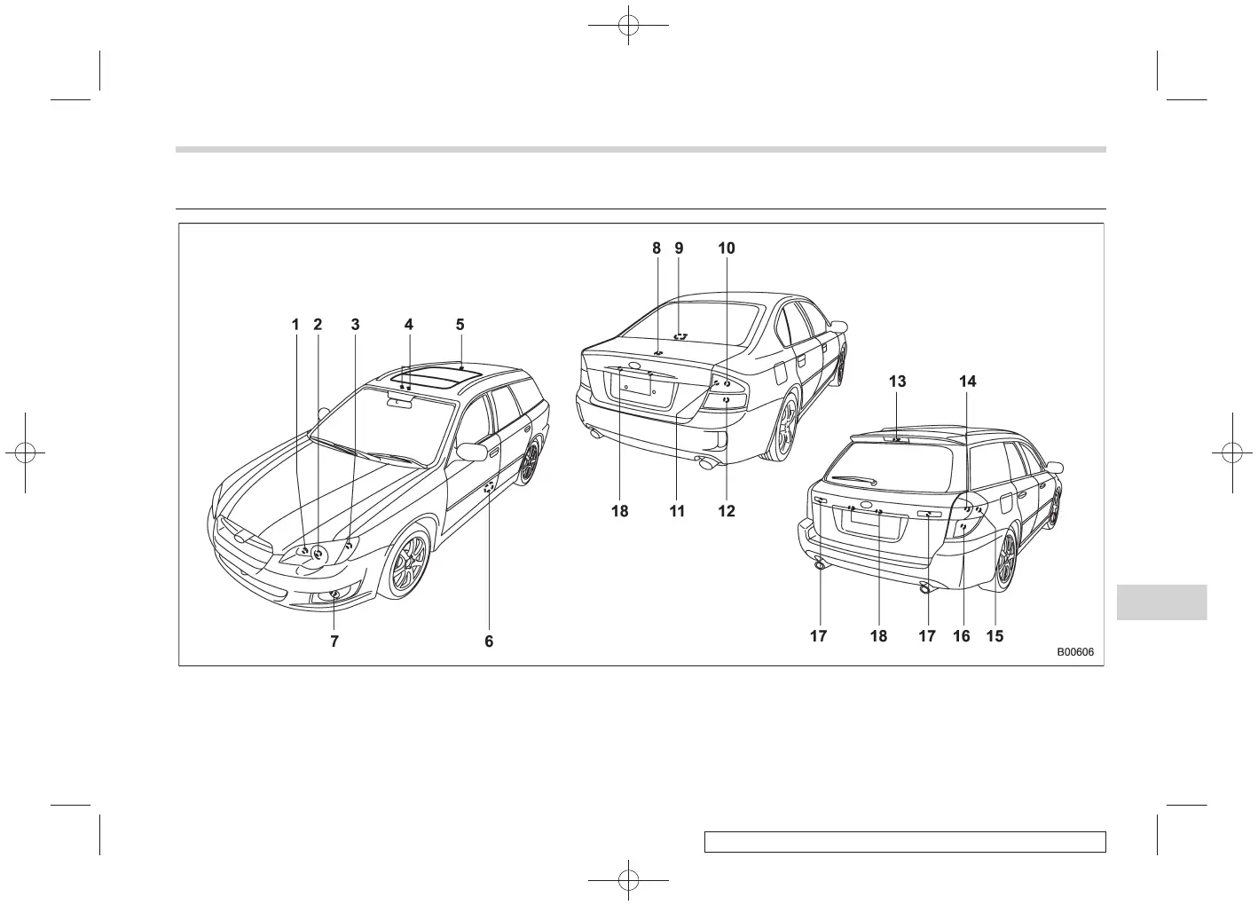
Replacing bulbs
S11BE
Maintenance and service 11-51
CONTINUED
11

Table of Contents

Related product manuals