EasyManua.ls Logo

TDE MACNO DVS200 - Page 72

TDE MACNO DVS200
134 pages
Print Icon
To Next Page IconTo Next Page
To Next Page IconTo Next Page
To Previous Page IconTo Previous Page
To Previous Page IconTo Previous Page
Loading...
72 Chapter 7 - Parameters Description User Manual
Enabling Virtual I/O
Through a virtual setting via serial line or fieldbus, it is possible to use all the functions available on the digital inputs and
perform a direct control of the digital and analog outputs.
The setting can be carried out in such configurations, where the digital commands are a mix of virtual and terminals and
the outputs are a mix of virtual and drive function.
The virtual assignment can be performed through the parameters H.000H.022 in the HIDDEN menu (for further
information please see this chapter).
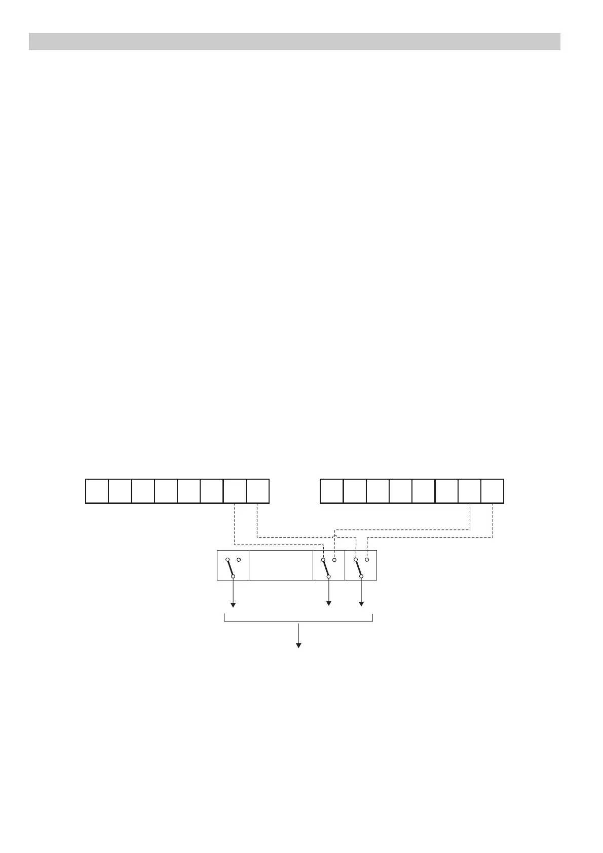
Below are the reported the drawings describing the combination between the byte of the virtual I/Os and the drive
terminals, with the relative decoder mask.
The switch between the virtual commands and the terminal ones and between the virtual output or the drive
functions, is determined by programmable mask I.400I.450.
These parameters have to be managed bitwise. At each bit corresponds a switch, as follows.
Bit value Inputs Outputs
0 Terminal Drive function
1 Virtual Virtual control
The formula below describes the result of the virtual I/Os setting:
[Input/Output AND (NOT Mask)] OR (Virtual AND Mask)
VIRTUAL DIGITAL INPUTS CONFIGURATION
DI
8
DI
6
DI
4
DI
2
DI
7
DI
5
DI
3
DI
1
VI
8
VI
6
VI
4
VI
2
VI
7
VI
5
VI
3
VI
1
Terminal digital inputs
Virtual digital inputs
H.000
d.102
d.101
I.400
Mask
To internal drive
digital commands
I.000 I.007
Mask bits = 0 DIxx activeÞ
Mask bits = 1 VIxx activeÞ
0
1
0
1
0
1
Bit 7...............................Bit 1 Bit 0
Figure 7.4.5: Virtual digital inputs configuration

Table of Contents

Related product manuals