EasyManua.ls Logo

TELEDYNE OLDHAM SIMTRONICS iTRANS 2 - Page 56

TELEDYNE OLDHAM SIMTRONICS iTRANS 2
84 pages
Print Icon
To Next Page IconTo Next Page
To Next Page IconTo Next Page
To Previous Page IconTo Previous Page
To Previous Page IconTo Previous Page
Loading...
iTRANS 2
FIXED POINT SINGLE OR DUAL GAS MONITOR
WITH DUAL ANALOG OUTPUTS
USER MANUAL
50
77036429-EN
Revision 7.0
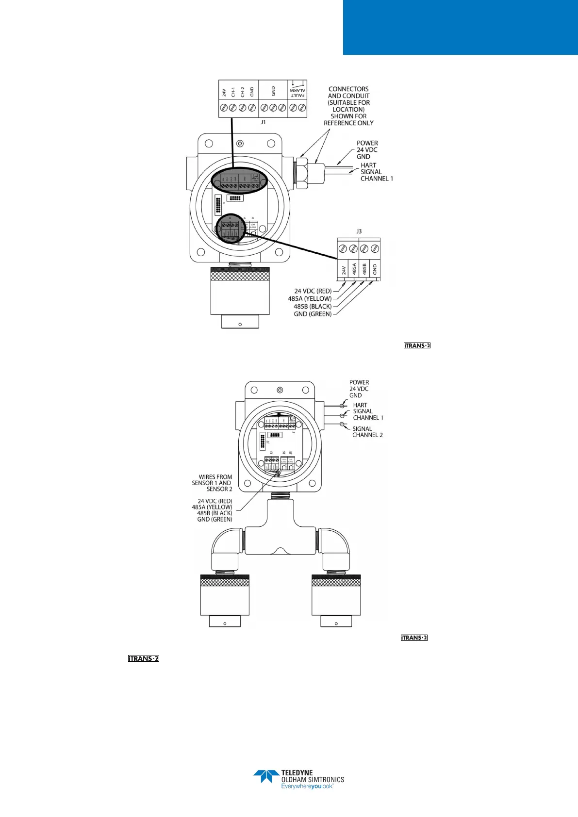
Figure A - 4 Wiring Diagram of Single Sensor HART Supported
Figure A - 5 Wiring Diagram of Dual Sensor HART Supported
Connect the power and signal wires to the appropriate wiring terminals as follows.
24 V:Connect 24 VDC (12-28 VDC) supply power
CH-1:Channel 1, HART 4-20 mA output signal
CH-2:Channel 2, 4-20 mA output signal
GND:DC return

Related product manuals