EasyManua.ls Logo

Testomat EVO TH CAL - Display Functions

Testomat EVO TH CAL
82 pages
Print Icon
To Next Page IconTo Next Page
To Next Page IconTo Next Page
To Previous Page IconTo Previous Page
To Previous Page IconTo Previous Page
Loading...
Functions of the control and display elements
25
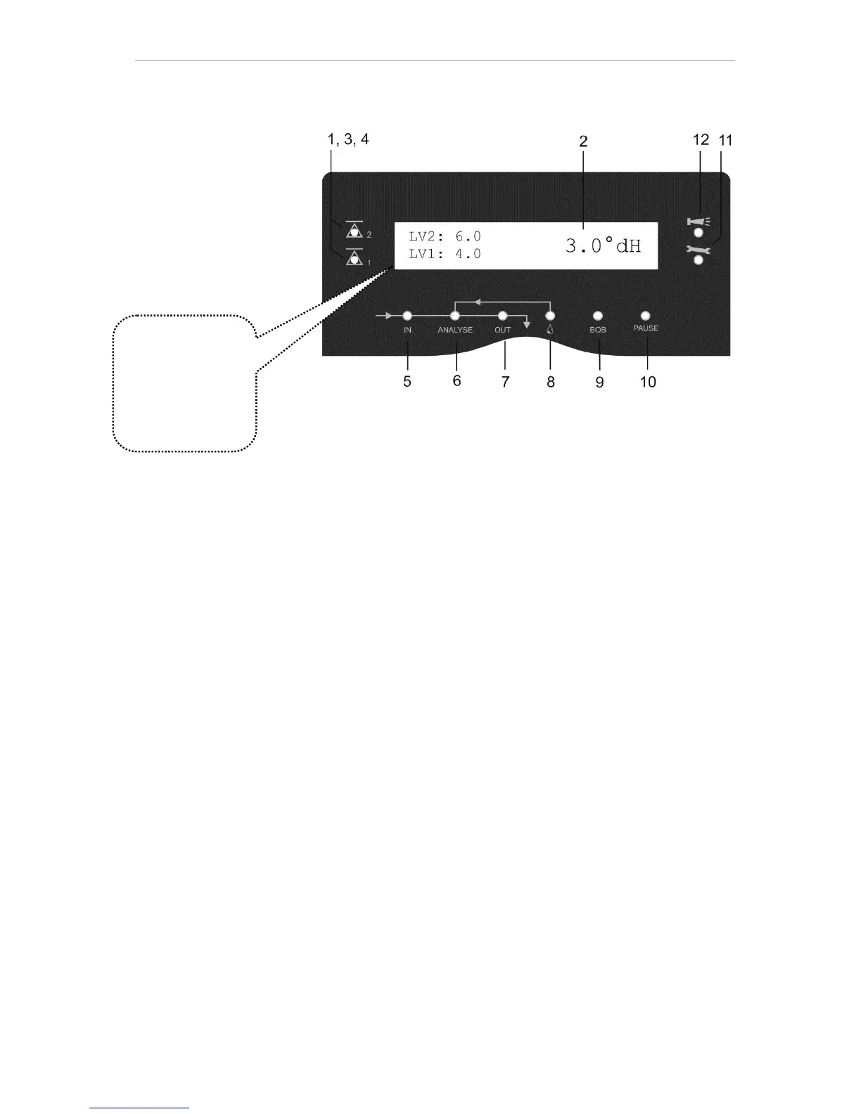
Display functions
1 Limit value status indications (red/green)
When the limit values 1 are exceeded, indicator 1 lights up in red.
Falling under the limit value results in the indicator 1 lighting up in
green. The same function applies to limit value 2 and indicator 2.
2 Display
The current analytical result is shown as well as all important
states and programming data
The current measurement value appears on the right
The configured limit values LV1 and LV2 appear on the left. When
the measurement range is exceeded = "<" e.g.: < 0.05 °dH
Exceeding of the measurement range = ">" e.g.: > 10.0 °dH
The current analysis interval is suspended (analysis stops) and
the LED "Pause” flashes.
3 LV2 (red/green)
4 LV1 (red/green)
An LED lit up in green indicates that the limit value has been ex-
ceeded.
The LED lit up in red indicates that the limit value has been ex-
ceeded.
5 In (green)
The green LED indicates an opened inlet valve.
6 Analysis message (yellow)
The yellow LED indicates ongoing analysis.
7 Out (green)
The green LED indicates an opened outlet valve.
8 Dosing (yellow)
The yellow LED indicates the activated dosing pump.
9 "BOB operation"
The green LED indicates the activated BOB operation.
All error and warn-
ing messages are
shown in rotation
with the standard
display in line 1!

Table of Contents

Related product manuals