EasyManua.ls Logo

Thommen AD20 - 4.1.5.2 Wiring Diagram (shielded power wires, RF Susc. Cat. [YY])

Thommen AD20
72 pages
Print Icon
To Next Page IconTo Next Page
To Next Page IconTo Next Page
To Previous Page IconTo Previous Page
To Previous Page IconTo Previous Page
Loading...
REVUE THOMMEN AG
CH-4437 Waldenburg
AD20 Standby Altimeter
Page 46 of 72
07-Sep-2009 Document No: AD-INSOP-800 Revision: 1.6
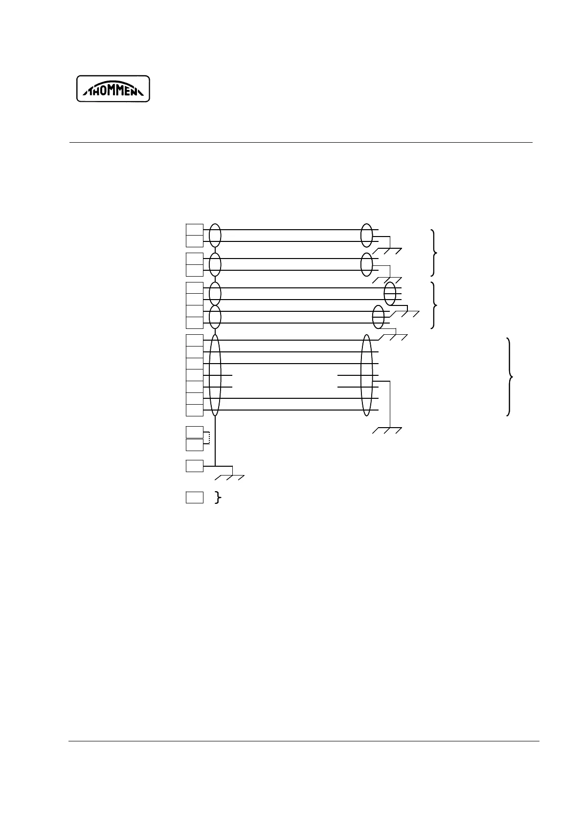
4.1.5.2 Wiring Diagram (shielded power wires, RF Susc. Cat. [YY])
E
F
U
J
L
K
M
N
T
P
B
D
V
A
S
R
Primary Power Supply
Primary Power Return
Lighting Supply
Lighting Return
ARINC429, TxD 1A
ARINC429, TxD 1B
ARINC429, TxD 2A
ARINC429, TxD 2B
Bat_Atc, Discrete Input 1
Discrete Input 2
Discrete Input 3
Discrete Input 4
WFVOUT, Discrete Output 0
Discrete Output 1
RS232, RxD
Twisted shielded pair
Twisted shielded pair
Twisted shielded pair
Twisted shielded pair
C
TEST, Discrete Input 0
Cable: ALPHA WIRE H1 P/N 5121C 1
PR / 22 AWG XTRA GUARD 1
SHIELDED 75C (UL) TYPE CM OR
AWM2464 --- LL49185 CSA TYPE
CMG FT4
Termination: open, maybe termination
box
Pin 1 D. I. 0: 1nF to SHIELD
Pin 6, D.O. 0: Diode, 3k3 to 28V
Pin 7, D.O. 1: Diode, 3k3 to 28V
D-Sub-9
Cable: BROECKSKES D-
VIERSEN SABIX D 315 FRNC 2
x 0.25mm
2
Termination: power supply
G
CASE
RS232, TxD
BROECKSKES D-VIERSEN
SABIX D 315 FRNC 12 x 0.25mm
2
Pin 2 D. I. 1: 100E to SHIELD
Pin 3 D. I. 2: 1nF to SHIELD
Pin 4 D. I. 3: 1nF to SHIELD
Pin 5 D. I. 4: 1nF to SHIELD
Pin 1
Pin 3
Pin 2
H
spare
Wire not assembled
Pin G to shield (0.5 mm2)
and GND-Strap
from connector
shell to GND-Plane
E
F
U
J
L
K
M
N
T
P
B
D
V
A
S
R
Primary Power Supply
Primary Power Return
Lighting Supply
Lighting Return
ARINC429, TxD 1A
ARINC429, TxD 1B
ARINC429, TxD 2A
ARINC429, TxD 2B
Bat_Atc, Discrete Input 1
Discrete Input 2
Discrete Input 3
Discrete Input 4
WFVOUT, Discrete Output 0
Discrete Output 1
RS232, RxD
Twisted shielded pair
Twisted shielded pair
Twisted shielded pair
Twisted shielded pair
C
TEST, Discrete Input 0
Cable: ALPHA WIRE H1 P/N 5121C 1
PR / 22 AWG XTRA GUARD 1
SHIELDED 75C (UL) TYPE CM OR
AWM2464 --- LL49185 CSA TYPE
CMG FT4
Termination: open, maybe termination
box
Pin 1 D. I. 0: 1nF to SHIELD
Pin 6, D.O. 0: Diode, 3k3 to 28V
Pin 7, D.O. 1: Diode, 3k3 to 28V
D-Sub-9
Cable: BROECKSKES D-
VIERSEN SABIX D 315 FRNC 2
x 0.25mm
2
Termination: power supply
G
CASE
RS232, TxD
BROECKSKES D-VIERSEN
SABIX D 315 FRNC 12 x 0.25mm
2
Pin 2 D. I. 1: 100E to SHIELD
Pin 3 D. I. 2: 1nF to SHIELD
Pin 4 D. I. 3: 1nF to SHIELD
Pin 5 D. I. 4: 1nF to SHIELD
Pin 1
Pin 3
Pin 2
H
spare
Wire not assembled
Pin G to shield (0.5 mm2)
and GND-Strap
from connector
shell to GND-Plane
Fig. 4-2 Wiring Diagram (shielded power wires)

Table of Contents

Related product manuals