EasyManua.ls Logo

Toa D-901 - Auto-Mixing Group Settings

Toa D-901
94 pages
Print Icon
To Next Page IconTo Next Page
To Next Page IconTo Next Page
To Previous Page IconTo Previous Page
To Previous Page IconTo Previous Page
Loading...
37
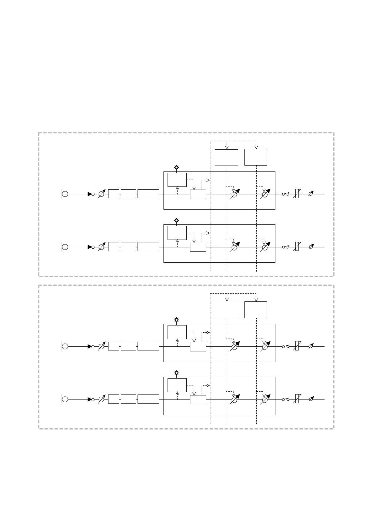
8.14. Auto-Mixing Group Settings
Both the Ducker function (next page) and the NOM Attenuation function (p. 39) are Auto-Mixing Functions that
automatically adjust individual input channel gains in response to input signal level.
The auto-mixing functions can operate in each of the 4 groups, GROUP A through D. Although all the input
channels are grouped into GROUP A by default, they can be individually assigned to the desired groups.
The figure below shows the block diagram of the Auto-Mixing (Auto MIX) section.
[Auto-mixing block diagram]
The diagram below shows an example where the input channels 1 and 2 are assigned to GROUP A, and the
input channels 3 and 4 to GROUP B.
Microphone 1
[GROUP A]
Microphone 2
Auto MIX
Auto MIX
Trim
Trim
SIG LED
SIG LED
ON
ON
Fader
Fader
GR Trim
GR Trim
HPF
Gate
PEQ(2)
Level
Sense
COMP/
Auto-leveler
COMP/
Auto-leveler
HPF
Gate
PEQ(2)
Level
Sense
Ducker
Control
NOM
Control
Microphone 3
[GROUP B]
Microphone 4
Auto MIX
Auto MIX
Trim
Trim
SIG LED
SIG LED
ON
ON
Fader
Fader
GR Trim
GR Trim
HPF
Gate
PEQ(2)
Level
Sense
COMP/
Auto-leveler
COMP/
Auto-leveler
HPF
Gate
PEQ(2)
Level
Sense
Ducker
Control
NOM
Control

Table of Contents

Other manuals for Toa D-901

Related product manuals