EasyManua.ls Logo

Toa D-901 - Input Channel Gain Settings; Input Channel Group Trim Gain Settings (Only When Group Is Set)

Toa D-901
94 pages
Print Icon
To Next Page IconTo Next Page
To Next Page IconTo Next Page
To Previous Page IconTo Previous Page
To Previous Page IconTo Previous Page
Loading...
40
8.17. Input Channel Gain Settings
[IN 1] FADER
ON IN Fd
B
ON
PARAMETER
PUSH-ENTER
CHANGE
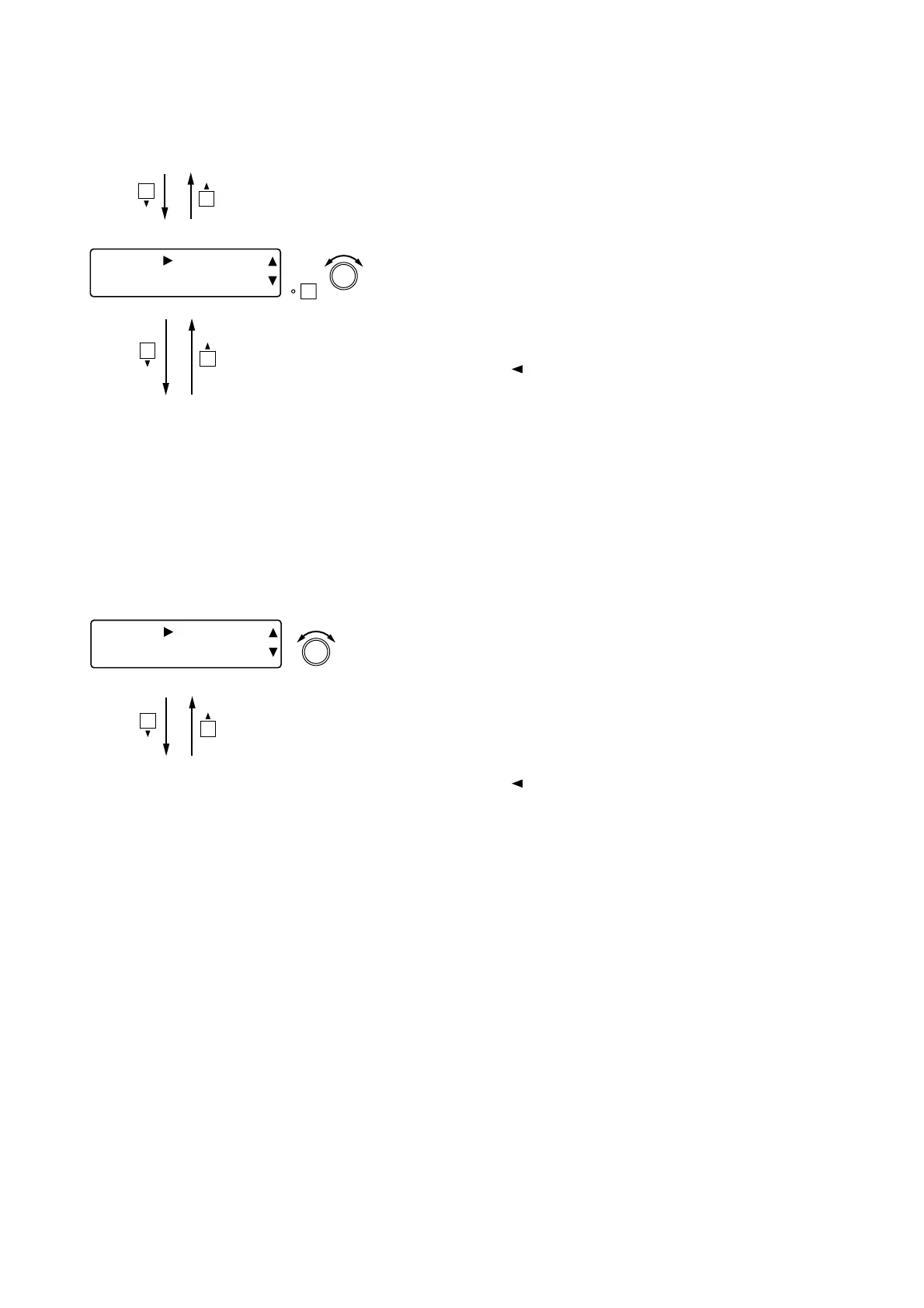
Rotate the Setting knob to set the input channel gain.
Parameter setting range: INF () to +10 dB
Press the function ON/OFF key to enable or disable the channel.
Pressing an Input channel selector key permits the gain to be set
for that channel. The [IN 1] indication changes to the selected
channel number indication.
The setting screen reverts to the Input/Output Gain Setting
screen when the shift key is pressed.
Bus assignment settings
(next page) or Input
channel group trim gain
settings (next section)
8.18. Input Channel Group Trim Gain Settings (Only when Group is set)
[IN 1] GR-TRIM
+0.0d
B
PARAMETER
PUSH-ENTER
CHANGE
The indication at left is displayed only when Group setting is
performed. Perform the Group settings on the Utility setting
screen (p. 61).
Rotate the Setting knob to set the group trim gain (offset gain).
Parameter setting range: INF () to +10 dB in 0.1 dB steps
Pressing an Input channel selector key permits the group trim
gain to be set for that channel. The [IN 1] indication changes to
the selected channel number indication.
The setting screen reverts to the Input/Output Gain Setting
screen when the shift key is pressed.
Bus assignment and
crosspoint gain settings
(next page)
NOM attenuation
ON/OFF settings
(previous page)

Table of Contents

Other manuals for Toa D-901

Related product manuals