EasyManua.ls Logo

Trane CGAM - Page 219

Trane CGAM
276 pages
Print Icon
To Next Page IconTo Next Page
To Next Page IconTo Next Page
To Previous Page IconTo Previous Page
To Previous Page IconTo Previous Page
Loading...
CG-SVX17D-EN 219
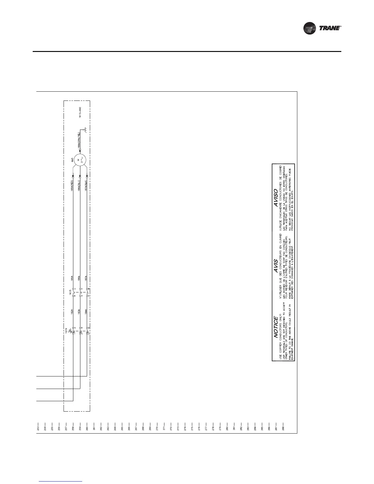
Unit Wiring
40-70 Ton - “V Frame” - Fan Power Circuit 2

Table of Contents

Related product manuals