EasyManua.ls Logo

VarioCooking Center 211 - Page 68

Default Icon
208 pages
Print Icon
To Next Page IconTo Next Page
To Next Page IconTo Next Page
To Previous Page IconTo Previous Page
To Previous Page IconTo Previous Page
Loading...
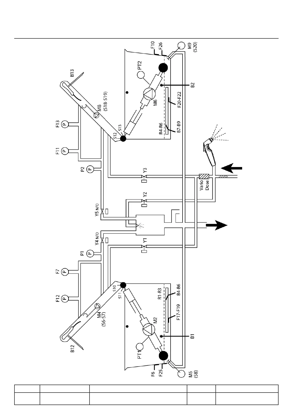
Schematic diagram
VarioCooking Center
©
112P, from index J
v03 • July-2016 • Hen
VI.04
Control Module
Line Units Serial number (starting from) Sw Revision
VCCM
VCCWE
112, 112P E11VJ1412xxxxxxx
E11PJ1412xxxxxxx

Table of Contents

Related product manuals