EasyManua.ls Logo

VarioCooking Center 211 - Page 74

Default Icon
208 pages
Print Icon
To Next Page IconTo Next Page
To Next Page IconTo Next Page
To Previous Page IconTo Previous Page
To Previous Page IconTo Previous Page
Loading...
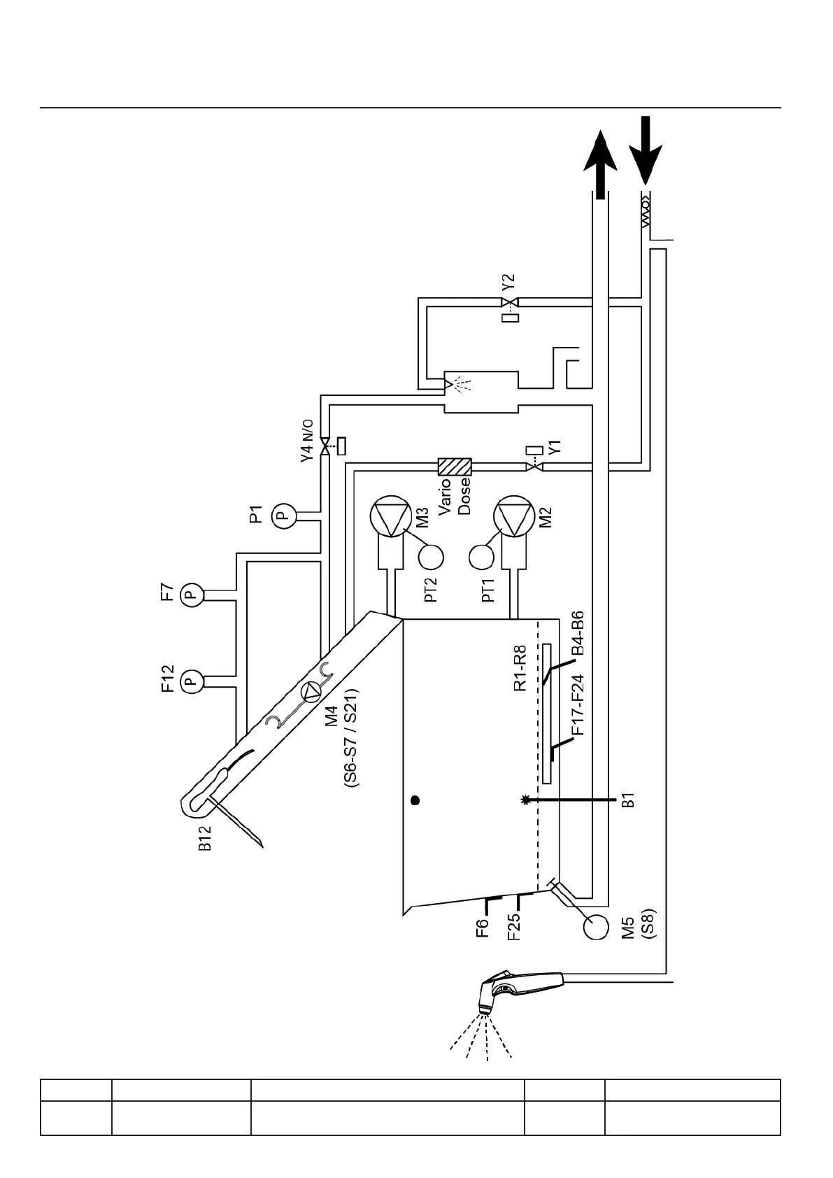
Schematic diagram
VarioCooking Center
©
211, 311
v03 • July-2016 • Hen
VI.10
Control Module
Line Units Serial number (starting from) Sw Revision
VCCM
VCCWE
211, 311
211P, 311P
E21VH1009xxxxxxx, E21PH11009xxxxxxx
E31VH1110xxxxxxx, E31PH11009xxxxxxx

Table of Contents

Related product manuals