EasyManua.ls Logo

Vertiv CoolPhase CDU - Site Preparation

Vertiv CoolPhase CDU
157 pages
Print Icon
To Next Page IconTo Next Page
To Next Page IconTo Next Page
To Previous Page IconTo Previous Page
To Previous Page IconTo Previous Page
Loading...
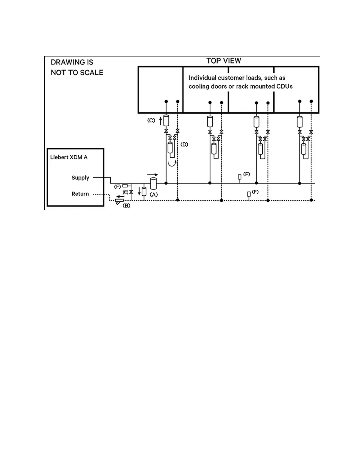
Figure 3.1 Diagram of Initial Start-up Runtime Options for Customer Loop
Verify that the floor is level, solid, and sufficient to support the unit. See Table 3.3 on page24 , for unit weights.
Confirm that the room is properly insulated and has a sealed vapor barrier.
For proper humidity control, keep outside or fresh air to an absolute minimum (less than 5% of total air circulated
in the room).
Install the units as close as possible to the largest heat load.
Allow at least the minimum recommended clearances for maintenance and service. See the appropriate
submittal drawings for dimensions.
We recommend installing an under floor leak detection system. Contact your Vertiv representative for
information.
3.1 Site Preparation
Prepare the site for installation prior to arrival and unloading of the unit.
If installing the unit on a concrete slab or housekeeping pad, sweep the concrete clean and mark the final
position of the unit(s) on the slab.
Verify that all required clearances as specified by Vertiv are met.
Mark the direction of the final unit placement to avoid accidental reversal of the unit.
Protect stub outs for electric conduit and any other projections against damage and clearly mark their locations.
Locate and mark the high point on the slab. This step is critical for the placement of multiple, joined units.
If installing on a structural steel support structure, verify suitability of the supports beneath the unit(s).
22 Proprietary and Confidential ©2024 Vertiv Group Corp.
3 Pre-installation Preparation and
Guidelines
Vertiv™ CoolPhase CDU Installer/User Guide

Table of Contents

Related product manuals