EasyManua.ls Logo

Videotec DCJ - 3 Communication lines and connections; Video and telemetry lines; RS485 and system types

Videotec DCJ
Print Icon
To Next Page IconTo Next Page
To Next Page IconTo Next Page
To Previous Page IconTo Previous Page
To Previous Page IconTo Previous Page
Loading...
Page 11 MNVADCJ01_1729_EN
3 Communication lines and connections
3.1 Video and telemetry lines
The DCJ keyboard can be used to control a wide range of products, for both video control (video matrixes and
multiplexers) and telemetry control (receivers and domes). It is therefore necessary to define the system
structure at the keyboard level to achieve efficient communication between the connected devices.
“Video line” means the communication channel intended to control the video devices; “telemetry lines” means
the two channels available for telemetry control.
We advise starting with the setup of the single “video line” and after that passing to the setup of the “telemetry
lines”.
3.2 RS485 and system types
The RS485 communication channels are 2-wire lines whose maximum length from end to end is 1200m.
The termination of the RS483 lines prevents signal reflection along the cable and should be inserted in each of
the devices that forms the end of a connection.
Systems can be of different types, therefore the way of terminating the lines will also be different.
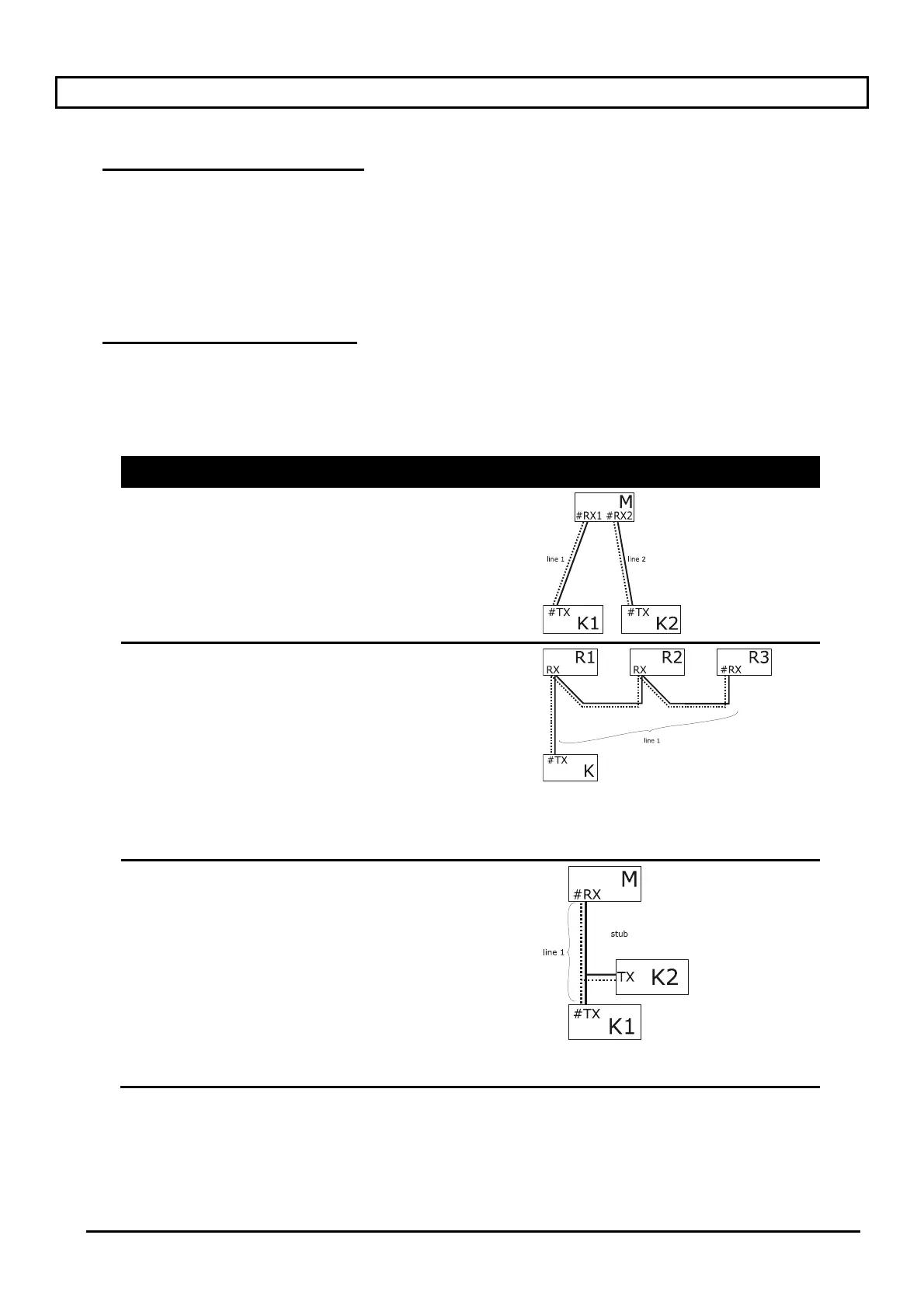
In the diagrams shown below, the devices requiring termination are indicated by the # symbol.
Setup Description Example
Star / Single lines For each connection between two
devices there should be a separate
communication line, with a maximum
length of 1200m.
All devices should be terminated, since
each device is connected to an end of
the line
Backbone A single line is used, and the
transmitters can be placed in any
position along it. The two ends of the
line (keyboard K and receiver R3 in the
example) are terminated; the other
devices (R1 and R2) are not
terminated. The maximum length of the
line is 1200m.
The specifications for the RS485
standard allow at least 32 devices to be
connected along the same line.
Line with stub A certain number of stubs can be
shunted in parallel to the normal RS485
line, for connection to other devices.
Since the stubs are not at the ends of
the line, they should not be terminated
and they should be very short in length
(of the order of a couple of metres).
The specifications for the RS485
standard allow at least 32 devices to be
connected along the same line.

Table of Contents