EasyManua.ls Logo

Waters 3100 - Rear Panel Connections

Waters 3100
220 pages
Print Icon
To Next Page IconTo Next Page
To Next Page IconTo Next Page
To Previous Page IconTo Previous Page
To Previous Page IconTo Previous Page
Loading...
Rear panel 1-9
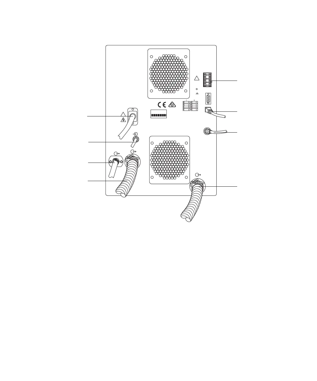
Instrument rear panel
RP00001
01757 U.S.A.
!
!
V ~ 200 - 240V ~ 200 - 240
Hz 50 - 60Hz 50 - 60
VVA 900
ACN 065444751
1
2
3
4
5
6
7
8
9
10
Analog
Not used
Stop Flow
Switch 2
Ground
Ground
Out
Out
1
2
3
4
5
6
7
8
9
10
Inject Start
Event
Switch 3
Switch 4
Ground
Ground
In
In
Out
Out
Out
RS 232RS 232
ETHERNETETHERNET
API GasAPI Gas
6.9 Bar Maximum6.9 Bar Maxim um
SOURCE VENTSOURCE VENT
VACUUMVACUUM
VACUUMVACUUM
PUMPPUMP
Serial Number
Event inputs
and outputs
Shielded
Ethernet
Roughing pump
relay switch
Source
vacuum
Power cord
Source vent
Turbo vacuum
Nitrogen inlet

Table of Contents

Related product manuals