EasyManua.ls Logo

Xylem Aquavar - Page 16

Xylem Aquavar
172 pages
Print Icon
To Next Page IconTo Next Page
To Next Page IconTo Next Page
To Previous Page IconTo Previous Page
To Previous Page IconTo Previous Page
Loading...
Figure 3: ON/OFF with a digital input and the 24 V as a power supply
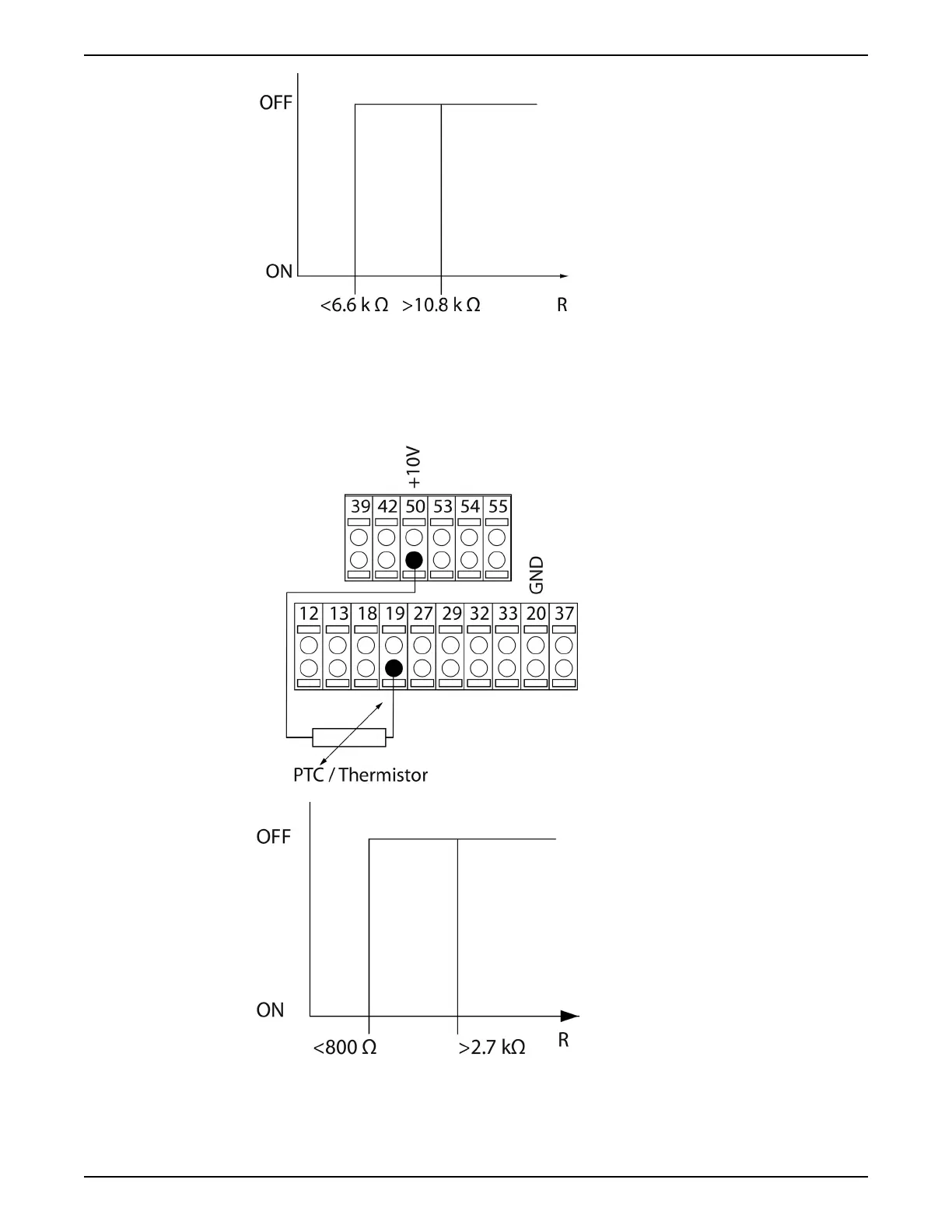
Using a digital input and the 10 V as a power supply.
Parameter set-up:
Set [1-90] Motor Thermal Protection to Thermistor Trip [2]
Set [1-93] Thermistor Source to Digital Input 19 [4]
Figure 4: ON/OFF with a digital input and the 10 V as a power supply
Using an analog input and 10 V as a power supply
Parameter set-up:
3 Product Description
14 Aquavar
®
Intelligent Pump Controller - 150 HP to 600 HP INSTRUCTION MANUAL

Table of Contents

Related product manuals