EasyManua.ls Logo

Yaesu FT-950 - Display Indications

Yaesu FT-950
132 pages
Print Icon
To Next Page IconTo Next Page
To Next Page IconTo Next Page
To Previous Page IconTo Previous Page
To Previous Page IconTo Previous Page
Loading...
Page 24 FT-950 OPERATING MANUAL
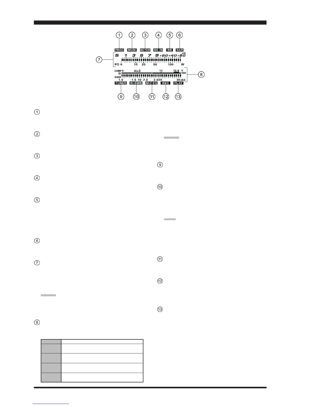
PROC
This indicator appears whenever the DSP Speech Pro-
cessor is activated.
MONI
This indicator appears whenever the transmit monitor
circuit is activated.
KEYER
This indicator appears whenever the internal CW keyer
is activated.
BK-IN
This indicator appears whenever CW break-in opera-
tion is activated.
NB
This indicator appears when the receivers “short-du-
ration” Noise Blanker is activated.
This indicator will blink for three seconds, and there-
after appears continuously, when the receivers “longer
pulse” Noise Blanker is activated.
NAR
This indicator appears whenever the receivers narrow
IF DSP filter is engaged.
S/PO
On receive, this indicates the received signal strength,
from S-0 to S-9+60dB on receiving.
On transmit, it indicates the RF Power Output, from 0
to 150 Watts on transmit.
ADVICE:
The S and PO meters can be set to the Peak-hold func-
tion via the Menu items “
007 DISP PKH S007 DISP PKH S
007 DISP PKH S007 DISP PKH S
007 DISP PKH S” and “
008008
008008
008
DISP PKH PODISP PKH PO
DISP PKH PODISP PKH PO
DISP PKH PO”.
Multi Function Meter
The five Transmit Multi-Meter functions are listed
below.
DISPLAY INDICATIONS
(
LEFT SIDE
)
The function displayed is selected by repeatedly press-
ing the
[
METER
]
switch, to step through the available
meter displays. (
ALC ALC
ALC ALC
ALC
Æ
SWR SWR
SWR SWR
SWR
Æ
ID ID
ID ID
ID
Æ
VDD VDD
VDD VDD
VDD
Æ
COMP COMP
COMP COMP
COMP
Æ
ALC ALC
ALC ALC
ALC
....
)
ADVICE:
The ALC and ID meters can be set to the Peak-hold
function via the Menu items “
009 DISP PKH ALC009 DISP PKH ALC
009 DISP PKH ALC009 DISP PKH ALC
009 DISP PKH ALC
and “
010 DISP PKH ID010 DISP PKH ID
010 DISP PKH ID010 DISP PKH ID
010 DISP PKH ID”.
TUNER
This indicator appears when the internal Automatic An-
tenna Tuner is activated.
HI-SWR
This indicator appears if the directional coupler and
microprocessor detect an abnormally high SWR con-
dition (over 3.0:1) that cannot be resolved by the Au-
tomatic Antenna Tuner.
NOTE:
If this indicator appears, check to be sure that you have
the correct antenna selected for the current operating
band. Also check the condition of the antenna, the co-
axial cable, and/or the connectors on the cable, to lo-
cate and correct the fault.
MIC EQ
This indicator appears whenever the Three-Band Para-
metric Microphone Equalizer is activated via the Menu.
REC
This indicator appears while the optional Voice
Memory Unit is recording your voice message, or the
Contest Keyer is recording your CW keying.
PLAY
This indicator appears while the optional Voice
Memory Unit is playing back the recorded voice mes-
sage, or the recorded Contest CW keying.
Indicates the relative ALC voltage.
Indicates the Standing Wave Ratio
(Forward: Reflected), from 1.0 to 3.0.
Indicates the final amplifier drain current,
0 to 30 ampere.
Indicates the final amplifier drain voltage
(nominal value: 13.8 V).
Indicates the speech compressor level,
from 0 to 30 dB.
ALC
SWR
ID
VDD
COMP

Table of Contents

Other manuals for Yaesu FT-950

Related product manuals