EasyManua.ls Logo

Yale GLP25LX - Hydraulic Filter Repair; Hydraulic Filter; Clean and Inspect

Yale GLP25LX
69 pages
Print Icon
To Next Page IconTo Next Page
To Next Page IconTo Next Page
To Previous Page IconTo Previous Page
To Previous Page IconTo Previous Page
Loading...
Hydraulic Filter Repair
REMOVE
WARNING
At operating temperature, the hydraulic oil is HOT.
DO NOT permit the hot oil to touch the skin and
cause a burn.
CAUTION
DO NOT permit dirt to enter the hydraulic system
when the oil level is checked or the filter is
changed. Dirt can cause damage to the compo-
nents of the hydraulic system.
Never operate the hydraulic pump without oil in
the hydraulic system. The operation of the hy-
draulic pump without oil will damage the pump.
CAUTION
Disposal of lubricants and fluids must meet local
environmental regulations.
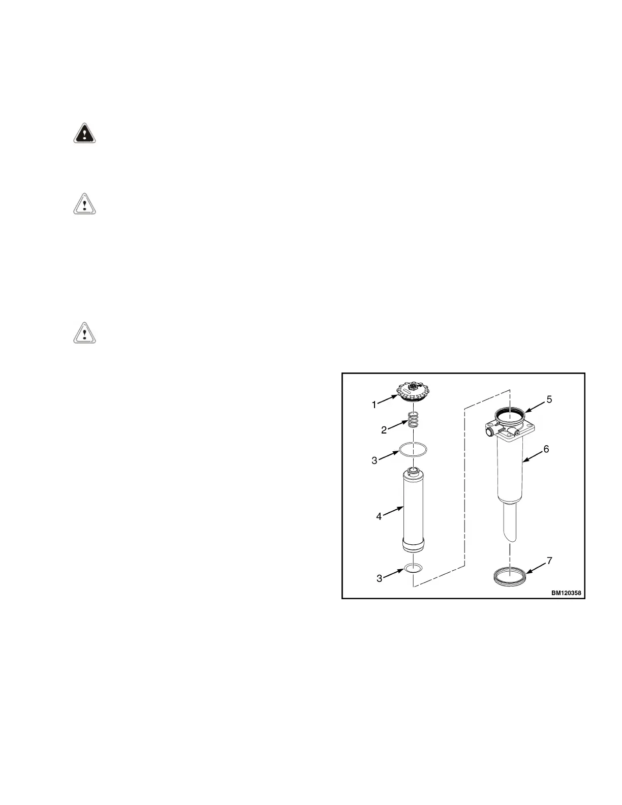
1. Put lift truck on level surface and lower carriage.
2. Unscrew and remove lid and spring from head.
Remove and discard O-ring from lid. See Fig-
ure 41.
NOTE: Have container large enough to hold filter ele-
ment and allow for final hydraulic oil draining.
NOTE: Note placement of filter element and handle
prior to removal to aid in installation.
3. Remove filter element and O-ring from filter hous-
ing and place in container. Cover head to prevent
any foreign material from getting into the hydraulic
tank. See Figure 41.
4. After filter element has drained, discard filter ele-
ment and O-ring.
5. Remove and discard quad ring from filter housing.
See Figure 41.
CLEAN AND INSPECT
1. Clean housing and cover plate as necessary.
2. Inspect filter housing, especially sealing surfaces,
for damage. Replace, if damaged.
3. Inspect dipstick plug. Replace O-ring and plug as
necessary.
INSTALL
1. Lubricate sealing surfaces on filter housing with
clean hydraulic oil.
2. Lubricate new quad ring with clean hydraulic oil
and install onto filter housing. See Figure 41.
3. Lubricate new O-ring with clean hydraulic oil and
install on bottom of new filter element. See Fig-
ure 41.
4. Install new filter element into filter housing as no-
ted during removal. See Figure 41.
5. Lubricate new O-ring with clean hydraulic oil and
install on lid. See Figure 41.
6. Install spring and lid onto filter housing. See Fig-
ure 41. Tighten lid to 14 N•m (124 lbf in).
1. LID
2. SPRING
3. O-RING
4. FILTER ELEMENT
5. HEAD
6. FILTER HOUSING
7. QUAD RING
Figure 41. Hydraulic Filter
0100 YRM 1766 Hydraulic Filter Repair
43

Table of Contents

Related product manuals