EasyManua.ls Logo

Yanmar EF-494T - Page 82

Yanmar EF-494T
239 pages
Print Icon
To Next Page IconTo Next Page
To Next Page IconTo Next Page
To Previous Page IconTo Previous Page
To Previous Page IconTo Previous Page
Loading...
3 ENGINE 3 ENGINE
EF494T TM 06/2011 edition
74
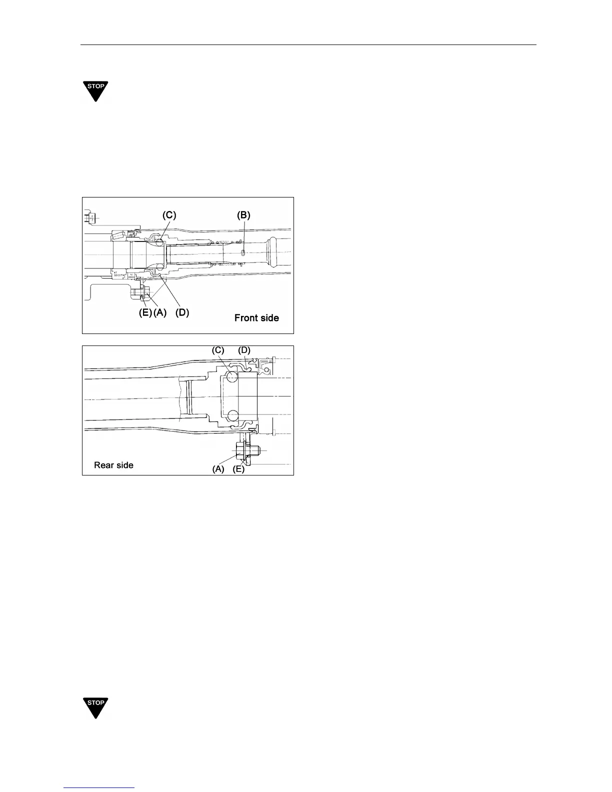
(3) Reinstall the propeller shaft and shaft cover.
IMPORTANT
Put grease into the rubber boots on both
sides.
Replace the split pin (B) with a new one.
There are 6 steel balls (C) on each side.
Be sure to install spacer (E) on rear and front
side. If not, cover may be broken in a short
time.
(A) Mounting bolt
(B) Split pin
(C) Steel balls
(D) Rubber boots
(E) Spacer
(4) Connect the pipe to the power steering
cylinder.
(5) Supply oil to the front axle.
(3) Reinstall the propeller shaft and shaft cover.
IMPORTANT
Put grease into the rubber boots on both

Table of Contents

Related product manuals