EasyManua.ls Logo

YASKAWA MP3000 Series - Page 312

YASKAWA MP3000 Series
435 pages
Print Icon
To Next Page IconTo Next Page
To Next Page IconTo Next Page
To Previous Page IconTo Previous Page
To Previous Page IconTo Previous Page
Loading...
2.10 Communications with a JTEKT PLC (TOYOPUC Protocol)
Message Functions
2-294
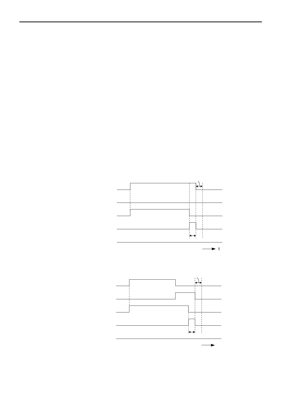
Busy
Specify the bit that shows that the message transmission is in progress.
The Busy Bit is ON while a message transmission or abort is in progress.
Keep the Execute Bit or Abort Bit turned ON while the Busy Bit is ON.
Complete
Specify the bit that shows when the message transmission has been completed.
The Complete Bit turns ON only for one scan when message transmission or forced abort processing has
been completed normally.
Error
Specify the bit that shows if an error occurred when sending the message.
When an error occurs, the Error Bit will turn ON only for one scan.
The following diagrams show timing charts for the bit I/O items in the MSG-SNDE function.
Normal Execution
When Execution Is Aborted
Input: Execute
Input: Abort
Output: Busy
Output: Complete
Output: Error
To send another message, turn OFF
the Execute Bit for at least one scan
after the completion of processing.
1 scan
t
Input: Execute
To send another message, turn OFF
the Execute Bit for at least one scan
after the completion of processing.
1 scan
Input: Abort
Output: Busy
Output: Complete
Output: Error

Table of Contents

Other manuals for YASKAWA MP3000 Series

Related product manuals