EasyManua.ls Logo

YooFab RFLEGO - Circuit Diagrams and Operation; Circuit Diagram Overview; Circuit Operation Explanation

Default Icon
66 pages
Print Icon
To Next Page IconTo Next Page
To Next Page IconTo Next Page
To Previous Page IconTo Previous Page
To Previous Page IconTo Previous Page
Loading...
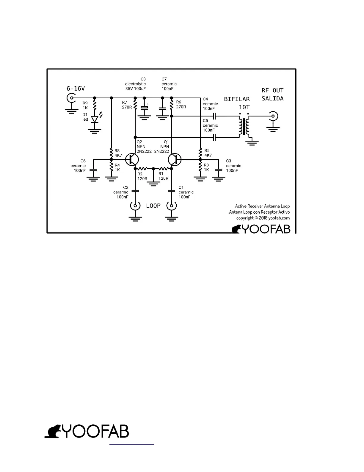
Circuit Diagram
Circuit Operation
The RF signal is induced across the wire loop, which is connected to the LOOP
terminals seen on the schematic. The signal is then coupled to the emitters of
the differential pair.
Respect The Difference!
The differential pair is largely immune to common-mode signals, such that when
the same injected signal appears on both inputs, it should be rejected.
Below we can see the circuit simulation of a 5uV (p-p) input signal from the wire loop.
This signal is amplified because it appears to the differential amplifier's inputs, such that
as one side becomes positive, the other side becomes negative. The 5uV (p-p) signal
appears on the left side of the ‘loop’ coloured Green and on the right side coloured Blue.
ASSEMBLY INSTRUCTIONS
RFLEGO Active Antenna Receiving Loop
Copyright © 2018 - 2019 www.yoofab.com G.D.COWNE - MØOOZ page 8 of 66