EasyManua.ls Logo

ABB AV410 - Page 37

ABB AV410
64 pages
Print Icon
To Next Page IconTo Next Page
To Next Page IconTo Next Page
To Previous Page IconTo Previous Page
To Previous Page IconTo Previous Page
Loading...
35
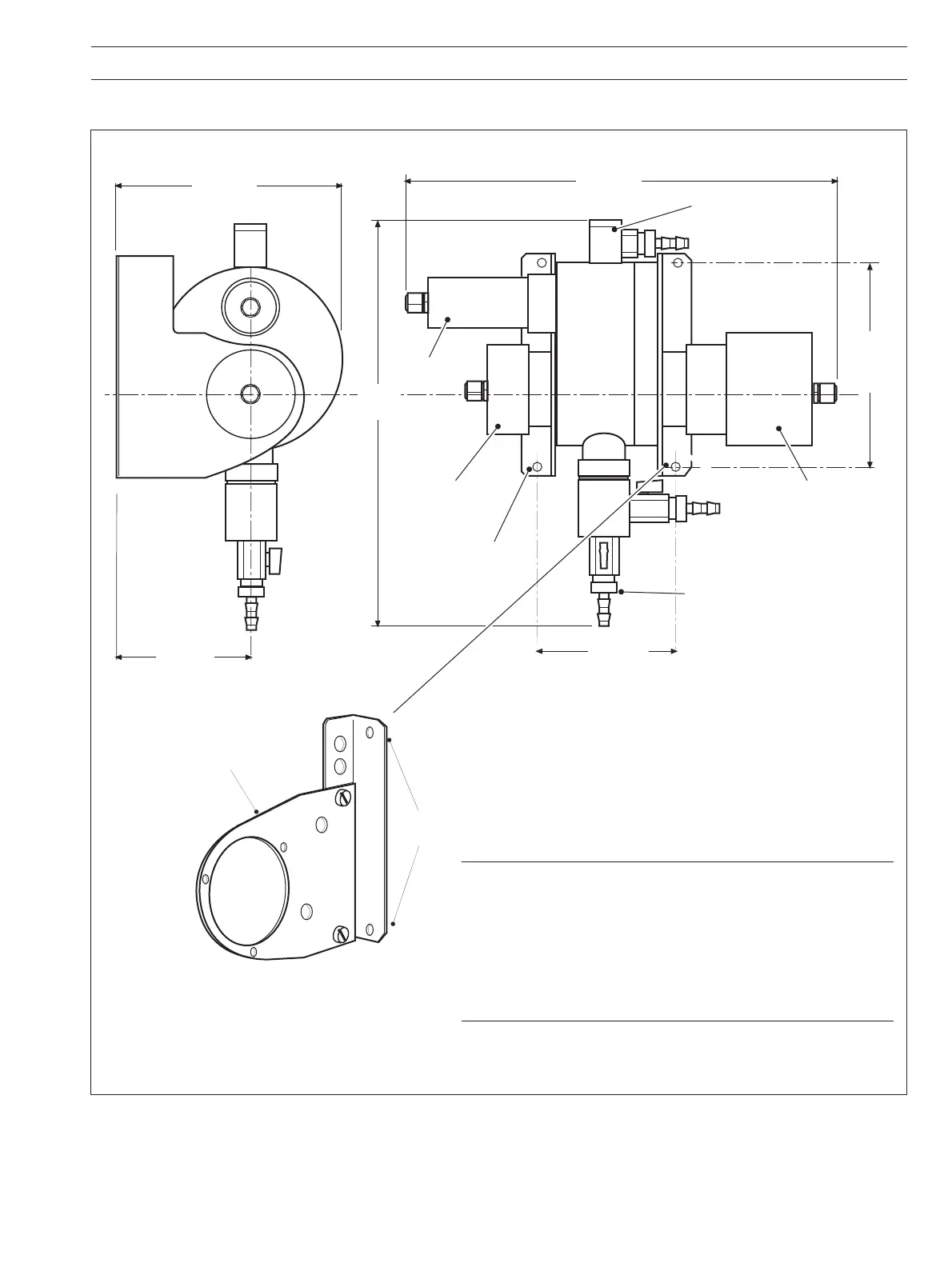
Fig. 6.5 7320 200 High Range Sensor – Overall Dimensions and Mounting Details
405 (15.9)
Emitter ModuleReceiver Module
Cleaner Module
Standard Solution
Filler
4 holes ø6 (0.24)
for mounting
Sample Outlet
(8 [0.3] i.d. tube)
155 (6.1)
between
centers
162 (6.4)
between
centers
Drain
(12 [0.47] i.d. flexible
hose connection)
Sample Inlet
(12 [0.47] i.d. flexible
hose connection)
Fix to wall
Bracket fixed to
flowcell cover,
emitter side
110 (4.3)
191 (7.52)
373
(14.7)
Dimensions in mm (in.)
Notes.
The emitter end mounting bracket is in two parts to facilitate
emitter module removal during maintenance – see Section 7.
For maintenance purposes, allow the following minimum
clearances around the sensor:
Left (for receiver module removal) 150mm (5.9 in.)
Right (for emitter module removal) 100mm (3.94 in.)
Top (for cleaner module removal) 200mm (7.87 in.)
6 INSTALLATION…
…6.3 Installing the Sensor – Figs. 6.4 and 6.5

Related product manuals