EasyManua.ls Logo

ABB REF615 - Functional Diagrams for Control and Interlocking

ABB REF615
240 pages
Print Icon
To Next Page IconTo Next Page
To Next Page IconTo Next Page
To Previous Page IconTo Previous Page
To Previous Page IconTo Previous Page
Loading...
(TRPPTRC1 and TRPPTRC2) and the circuit breaker open position signal. The TCS
alarm indication is connected to LED 9.
3.5.3.3 Functional diagrams for control and interlocking
A071358 V4 EN
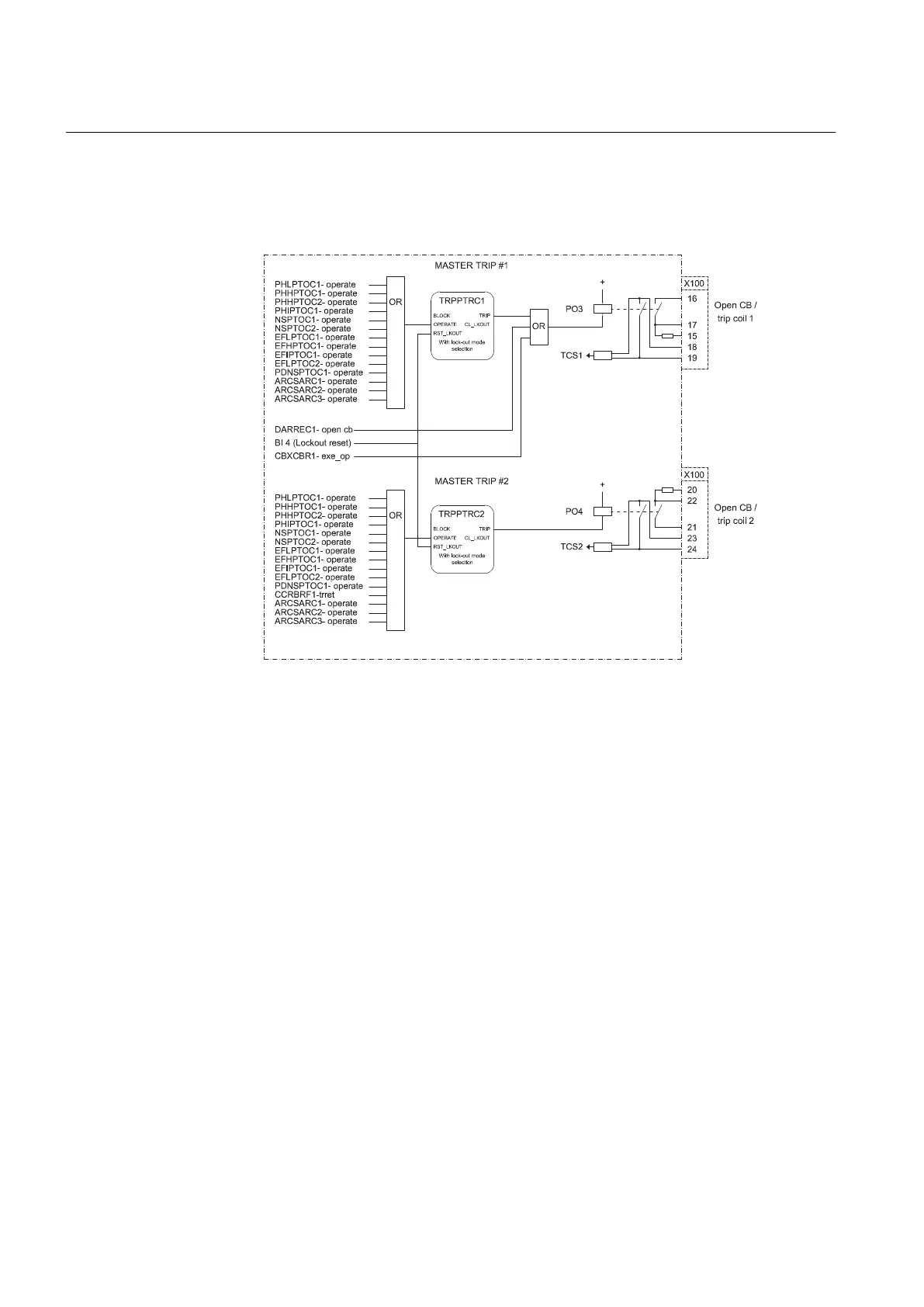
Figure 30: Master trip
The operate signals from the protections described above are connected to both of
the two trip output contacts PO3 (X100:16-19) and PO4 (X100:20-23) via the
corresponding Master Trips TRPPTRC1 and TRPPTRC2. The open control
commands to the circuit breaker from local or remote CBXCBR1-exe_op or from the
auto-recloser DARREC1-open_cb are connected directly to the output PO3
(X100:16-19).
The TRPPTRC1 and 2 blocks provide the lockout/latching function, event generation
and the trip signal duration setting. In case the lockout operation mode is selected,
the binary input 4 (X120:5-6) is assigned to the RST_LKOUT input of the Master
Trip to enable external reset with a push button.
Section 3 1MRS756378 D
REF615 variants
66 REF615
Application Manual

Table of Contents

Other manuals for ABB REF615

Related product manuals