EasyManua.ls Logo

ABB XAC22682 - Table of Tightening Torques; Fig. 62: Overview of Speed Sensor Tightening Torque

ABB XAC22682
140 pages
Print Icon
To Next Page IconTo Next Page
To Next Page IconTo Next Page
To Previous Page IconTo Previous Page
To Previous Page IconTo Previous Page
Loading...
Operation Manual / 4 Product description / A200-L
8 Disassembly and assembly / 8.21 Table of tightening torques
© Copyright 2020 ABB. All rights reserved. HZTL4036_EN Rev.Q July 2020
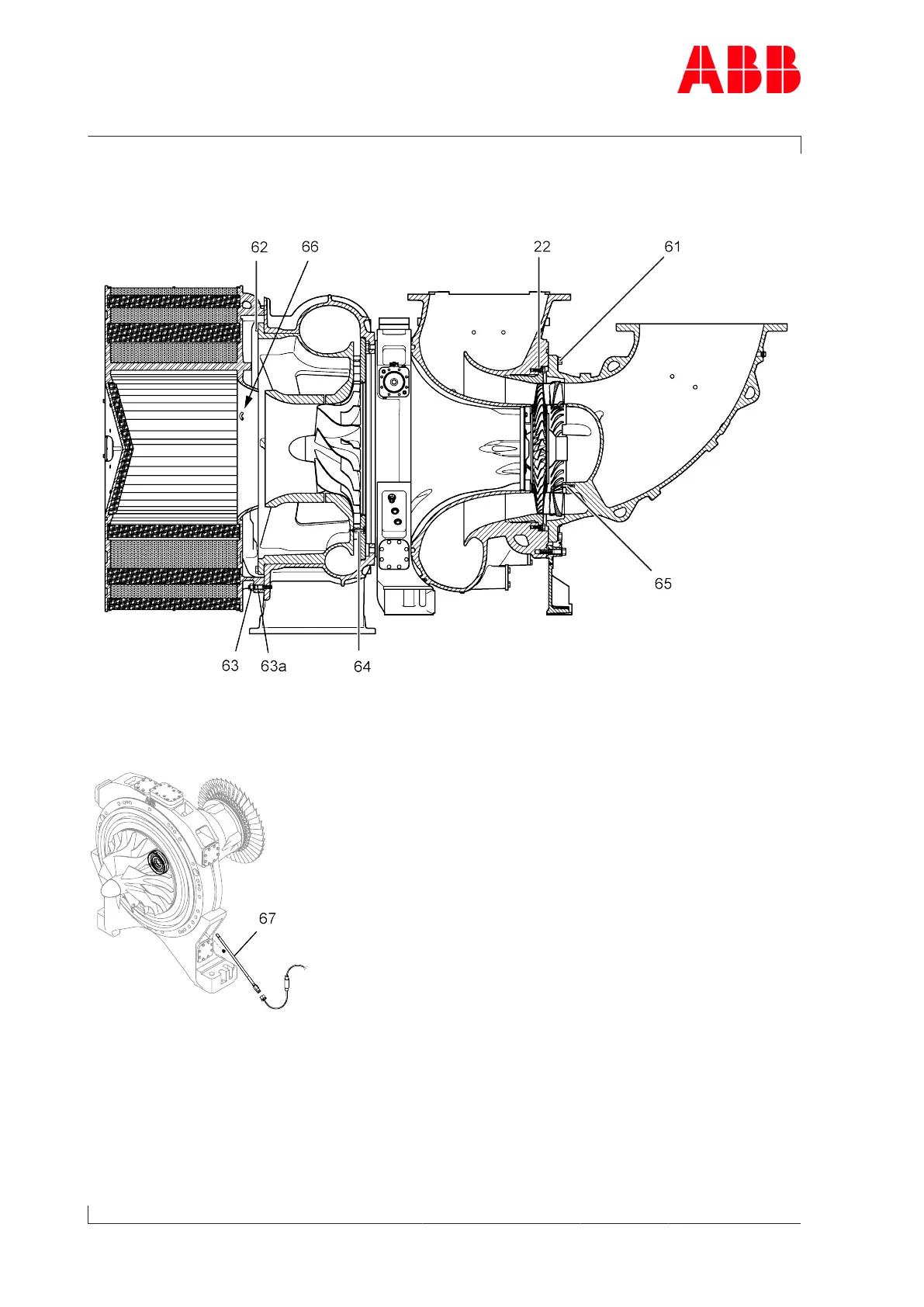
8.21 Table of tightening torques
Fig.61: Overview of tightening torques
Fig.62: Overview of speed sensor tightening torque
Page 90 / 110

Table of Contents

Related product manuals