EasyManua.ls Logo

Agilent Technologies 8590L - Page 64

Agilent Technologies 8590L
673 pages
Print Icon
To Next Page IconTo Next Page
To Next Page IconTo Next Page
To Previous Page IconTo Previous Page
To Previous Page IconTo Previous Page
Loading...
Chapter 2 65
Making Adjustments
7. Log and Linear Amplifier
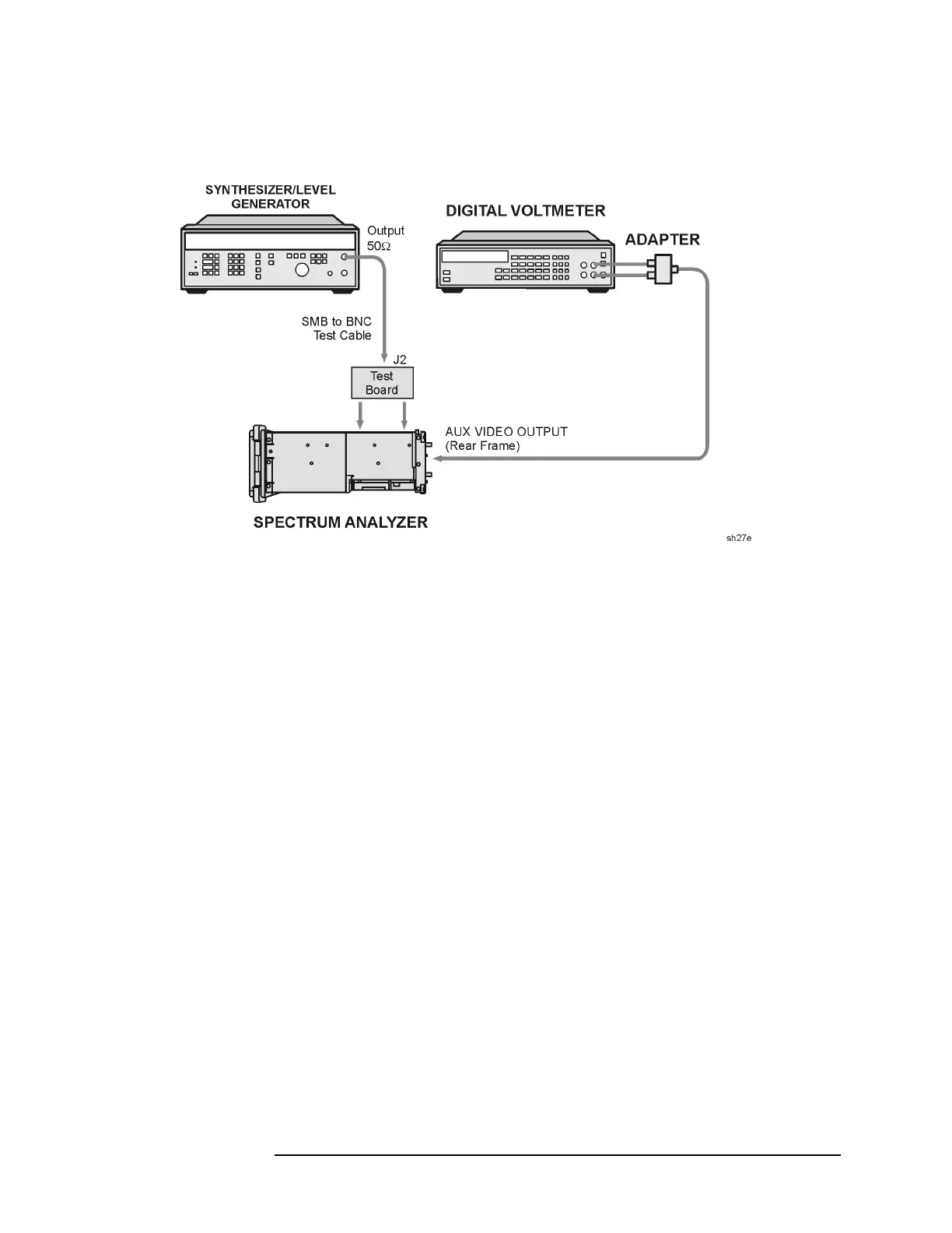
Figure 2-11 Log and Linear Amplifier Adjustment Setup
Log Fidelity Adjustment
7. Adjust the synthesizer knob for maximum signal amplitude on the
display. Adjust the synthesizer amplitude as necessary to keep the
signal on the display.
8. Adjust the synthesizer output level for a DMM reading of 1000 mV
±1.0 mV. Record the synthesizer amplitude readout for later
reference:
____________________dBm
9. Press
AMPTD, INCR, 10, dB on the synthesizer.
10.Press
SCALE (LOG) on the analyzer.
11.Set the synthesizer to the level recorded in step 8 and adjust
A14R23 SLOPE (refer to Figure 2-12) for a DMM reading of
1000 mV ±1mV.

Table of Contents

Related product manuals