EasyManua.ls Logo

Allen-Bradley micrologix 1500 - Page 86

Allen-Bradley micrologix 1500
174 pages
To Next Page IconTo Next Page
To Next Page IconTo Next Page
To Previous Page IconTo Previous Page
To Previous Page IconTo Previous Page
Loading...
Publication 1764-UM001B-EN-P - April 2002
4-18 Communication Connections
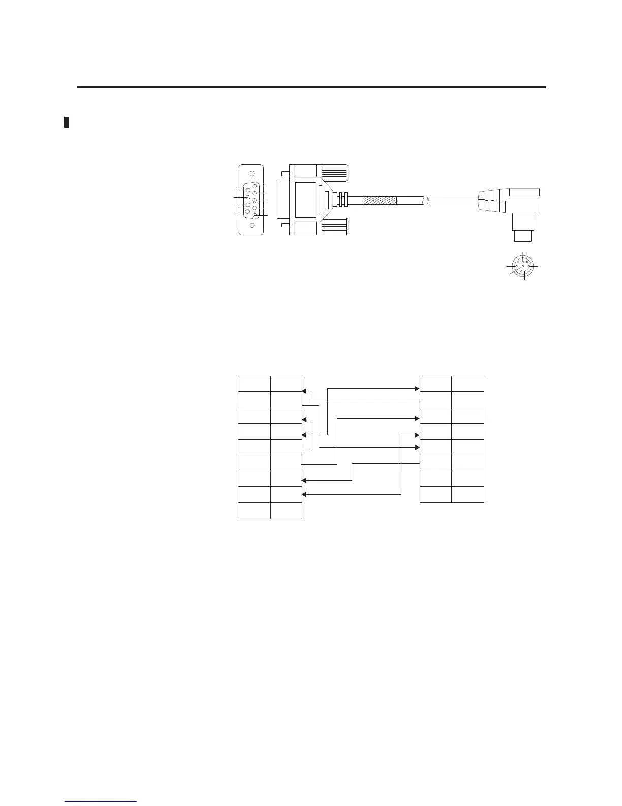
1761-CBL-PM02 (or equivalent) Cable Wiring Diagram
1
2
3
4
6
5
7
8
9
12
3
5
6
8
7
4
Programming
Device
Controller
9-Pin D-Shell 8-Pin Mini Din
9 RI 24V 1
8CTS GND2
7RTS RTS3
6 DSR RXD 4
5GND DCD5
4DTR CTS6
3TXD TXD7
2RXD GND8
1DCD

Table of Contents

Other manuals for Allen-Bradley micrologix 1500

Related product manuals