EasyManua.ls Logo

Anthos SMART TOUCH R7 - Page 19

Anthos SMART TOUCH R7
90 pages
Print Icon
To Next Page IconTo Next Page
To Next Page IconTo Next Page
To Previous Page IconTo Previous Page
To Previous Page IconTo Previous Page
Loading...
19
19EN
R7
- OPERATING INSTRUCTION
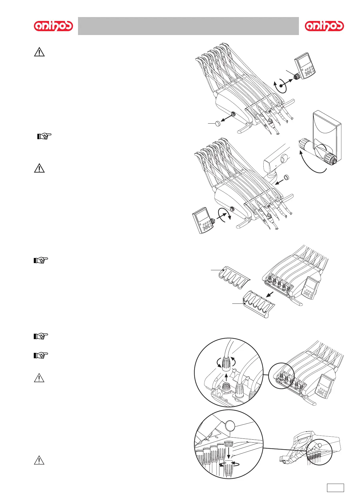
Inverting the console unit position for left-handed operators
WARNING!
BEFORE CARRYING OUT THIS OPERATION, TURN OFF THE DENTAL
UNIT. DO NOT REMOVE THE CONSOLE FROM THE DENTIST’S MO-
DULE IF THE DENTAL UNIT IS ON.
To invert the position of the console unit on the dentist’s module,
operate as follows:
g

s 






NOTE: to prevent the dentist’s module from slipping out on the
opposite side during this operation, it is advisable to beforehand turn it
about 90° with respect to its support arm (see gure).

WARNING!
During the console cleaning operations do not exert excessive pressure
on the pushbutton panel to prevent damaging stress on the connection.
Cleaning the dentist’s instrument board.


NOTE for CONTINENTAL version dentist’s instrument boards:
the instrument holder ( x ) can be removed to facilitate the cleaning ope-
rations; to remove it, simply pull it out of its seat as it is only secured with
magnets.
The silicone instrument holder ( u ) can also be sterilized in an autoclave
at 121°C (see paragraph 1.5.).
Removable instrument cords

NOTE for CONTINENTAL version dentist’s instrument boards:
to remove the tubings you rst need to remove the instrument holder and
then unscrew the relative plastic fastening ring nuts.
NOTE for INTERNATIONAL version dentist’s instrument bo-
ards: to remove the tubings, unscrew the relative plastic fastening ring
nuts below the dentist’s instrument board.
WARNING!
󰀨󰀨
󰀨
pressing and holding down the relative air and water buttons directly
on the bowl until water spray is no longer present.
• The cords of the TURBINE, MICROMOTOR and SCALER contain
water, therefore hold the end of the cord on the handpiece side over
the bowl when removing the cord.
• When putting a cord back on, make certain the contacts are perfectly
dry and the plastic ring nut is tight.
• Each cord may be remounted only in the position for the correspon-
ding instrument.

WARNING!
The instrument cords are NOT suitable for autoclave or cold disin-
fection.

Table of Contents

Related product manuals