EasyManua.ls Logo

Anthos SMART TOUCH R7 - Disinfection Cycle With Oxygenated Water

Anthos SMART TOUCH R7
90 pages
Print Icon
To Next Page IconTo Next Page
To Next Page IconTo Next Page
To Previous Page IconTo Previous Page
To Previous Page IconTo Previous Page
Loading...
67



67EN
R7
- OPERATING INSTRUCTION
7.3.1. Disinfection cycle with oxygenated water




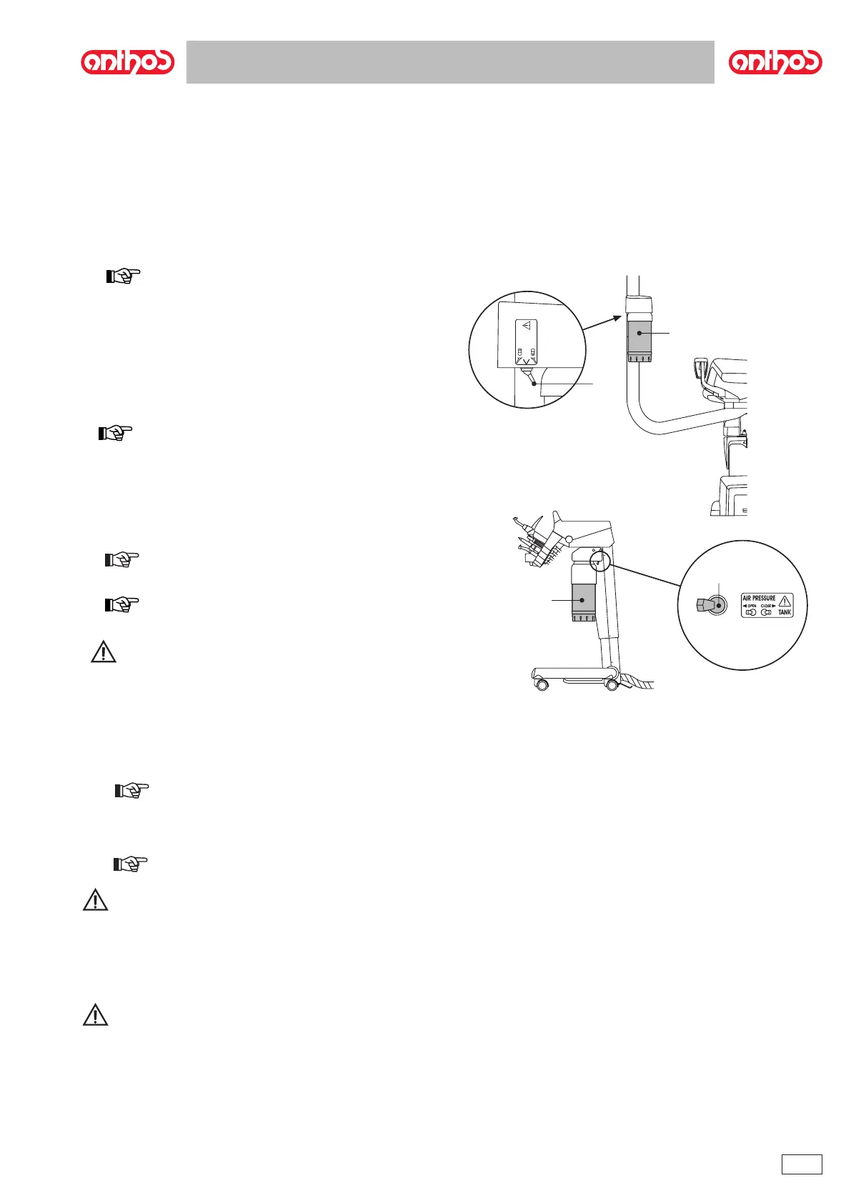
To disinfect, proceed as directed below:
A) Prepare the disinfectant:
      


NOTE: make sure that the tank is completely lled.
B) Putting in the disinfectant:


c   


a 
 a

.
NOTE: when emptying is complete, no water will come out
of the duct.


.
c



NOTE: let the disinfectant ow from the instruments for about
6-7 seconds.

NOTE: at this point, the ducts contain the disinfectant.
C) Putting in disinfectant
WARNING!
The disinfectant must be left to dwell in the ducts for at least 10
minutes, but not more than 30 minutes.
D) Rinsing the ducts:
 c
a

 
NOTE: when emptying is complete, no water will come out of the duct.
 
 c
 

NOTE: allow water to ow out approximately 6-7 seconds.

WARNING!
󰀨
It is good practice to perform a disinfection cycle at least once a day, preferably at the end of the day.
PEROXY Ag+ storage.
PEROXY Ag+

WARNING!
Never leave PEROXY Ag+ or oxygenated water in the tank marked with an orange band for more than one month.
In case of long absences from the studio (holidays), completely empty out the tank marked with an orange band before leaving.

Table of Contents

Related product manuals