EasyManua.ls Logo

Avidsen V300 - Pose du Jeu de Photocellules

Avidsen V300
Print Icon
To Next Page IconTo Next Page
To Next Page IconTo Next Page
To Previous Page IconTo Previous Page
To Previous Page IconTo Previous Page
Loading...
FR 16
C - INSTALLATION
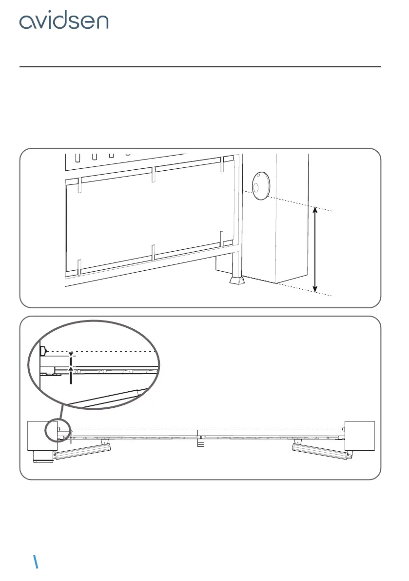
5 - POSE DU JEU DE PHOTOCELLULES
1 jeu de photocellules
Installez la photocellule réceptrice (RX est inscrit à l’arrière) du même côté du portail que le coffret de
commande. La surface des piliers doit être parfaitement plate an de pouvoir aligner convenablement le
faisceau infrarouge des photocellules.
Placez les photocellules exactement à la même hauteur par rapport au sol, elles doivent être parfaitement
alignées et parallèles entre elles. La distance entre la face extérieure du portail et les photocellules doit
être comprise entre 10 et 15 cm.
Fixez les photocellules sur les piliers.
Côté extérieur de la propriété
30cm mini
60cm maxi
vue de dessus
Côté intérieur de la propriété
alignement parfait
10cm mini
15cm maxi

Table of Contents

Related product manuals