EasyManua.ls Logo

Avidsen V300 - Page 236

Avidsen V300
Print Icon
To Next Page IconTo Next Page
To Next Page IconTo Next Page
To Previous Page IconTo Previous Page
To Previous Page IconTo Previous Page
Loading...
PT 16
C - INSTALAÇÃO
5 - COLOCAÇÃO DO JOGO DE FOTOCÉLULAS
1 jogo de fotocélulas
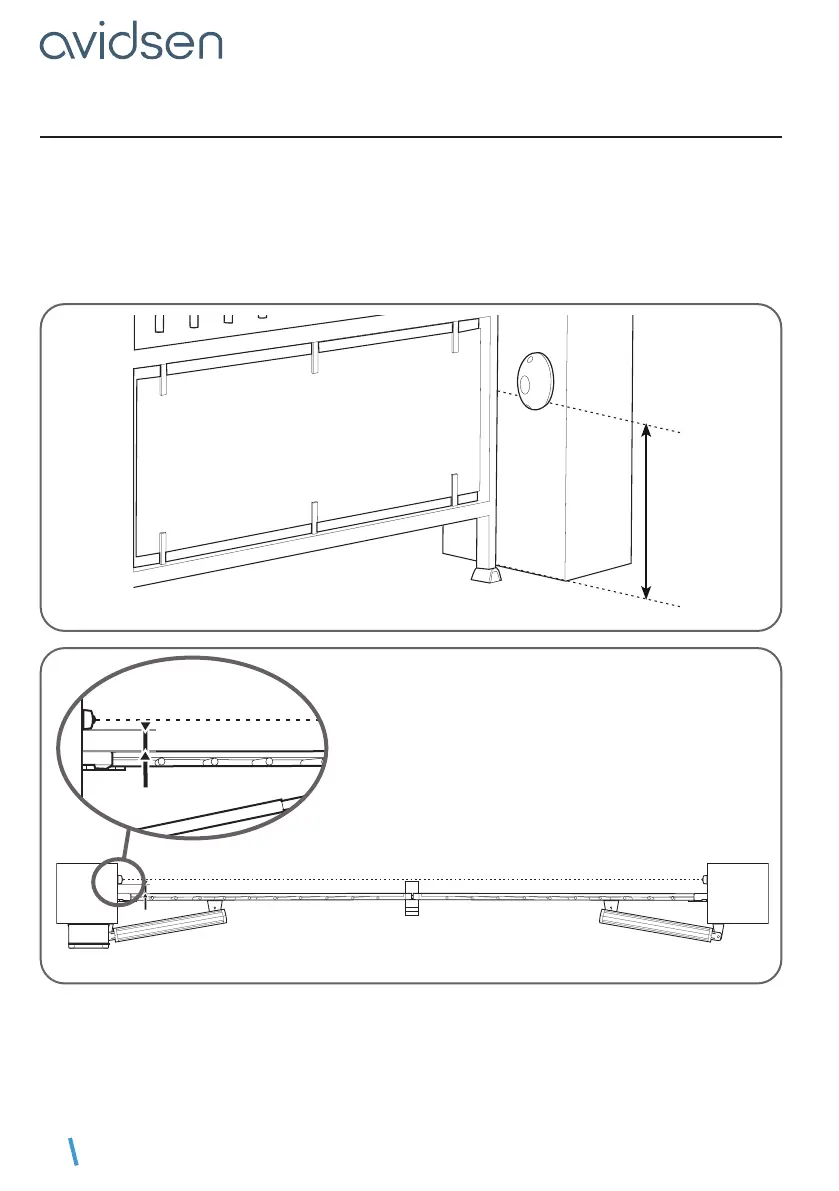
Instale a fotocélula recetora (RX inscrito na parte de trás) do mesmo lado do portão em que se encontra
o painel de controlo. A superfície dos pilares deve ser perfeitamente plana para que se possa alinhar
convenientemente o feixe de infravermelhos das fotocélulas.
As fotocélulas devem ser colocadas exatamente à mesma altura em relação ao solo e devem estar
perfeitamente alinhadas e paralelas entre si. A distância entre a face exterior do portão e as fotocélulas
deve estar compreendida entre 10 e 15 cm.
Fixe as fotocélulas aos pilares.
Lado exterior da propriedade
30 cm mín.
60 cm máx.
vista de cima
Lado interior da propriedade
alinhamento perfeito
10cm mín.
15cm máx.

Table of Contents

Related product manuals