EasyManua.ls Logo

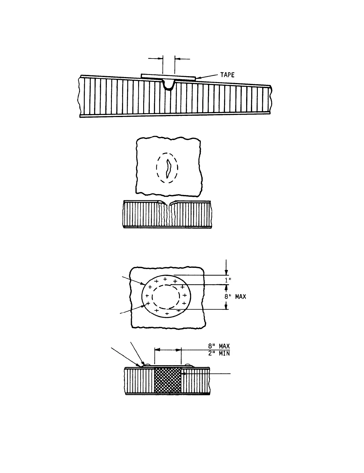
Bell OH-58A - Damaged Honeycomb Core Panel, Small Damage to One Skin and Core

Bell OH-58A
333 pages
Print Icon
To Next Page IconTo Next Page
To Next Page IconTo Next Page
To Previous Page IconTo Previous Page
To Previous Page IconTo Previous Page
Loading...
TM 55-1520-228-BD
AIRFRAME
2“ MAX
Figure 4-23. Damaged Honeycomb Core Panel,
Small Damage to One Skin and Core
Figure 4-24. Damaged Honeycomb Core Panel,
2-8 Inch Damage - One Skin and Core
MAKE PATCH FROM 2024-T3
OR 7075-T6 ALCLAD ALUMINUM
1/8” CHERRY RIVET
2 DIA EDGE DISTANCE
4 DIA RIVET SPACING
THRU ONE SKIN ONLY
PATCH
REPAIR PATCH
AND FASTENERS
AND SEALANT
FILLER COMPOUND
Figure 4-25.
Repaired Honeycomb Core Panel,
2-8 Inch Damage
- One Skin and Core
4-64

Table of Contents

Related product manuals