EasyManua.ls Logo

Bell OH-58A - Assessment Logic

Bell OH-58A
333 pages
Print Icon
To Next Page IconTo Next Page
To Next Page IconTo Next Page
To Previous Page IconTo Previous Page
To Previous Page IconTo Previous Page
Loading...
TM 55-1520-228-BD
HYDRAULIC
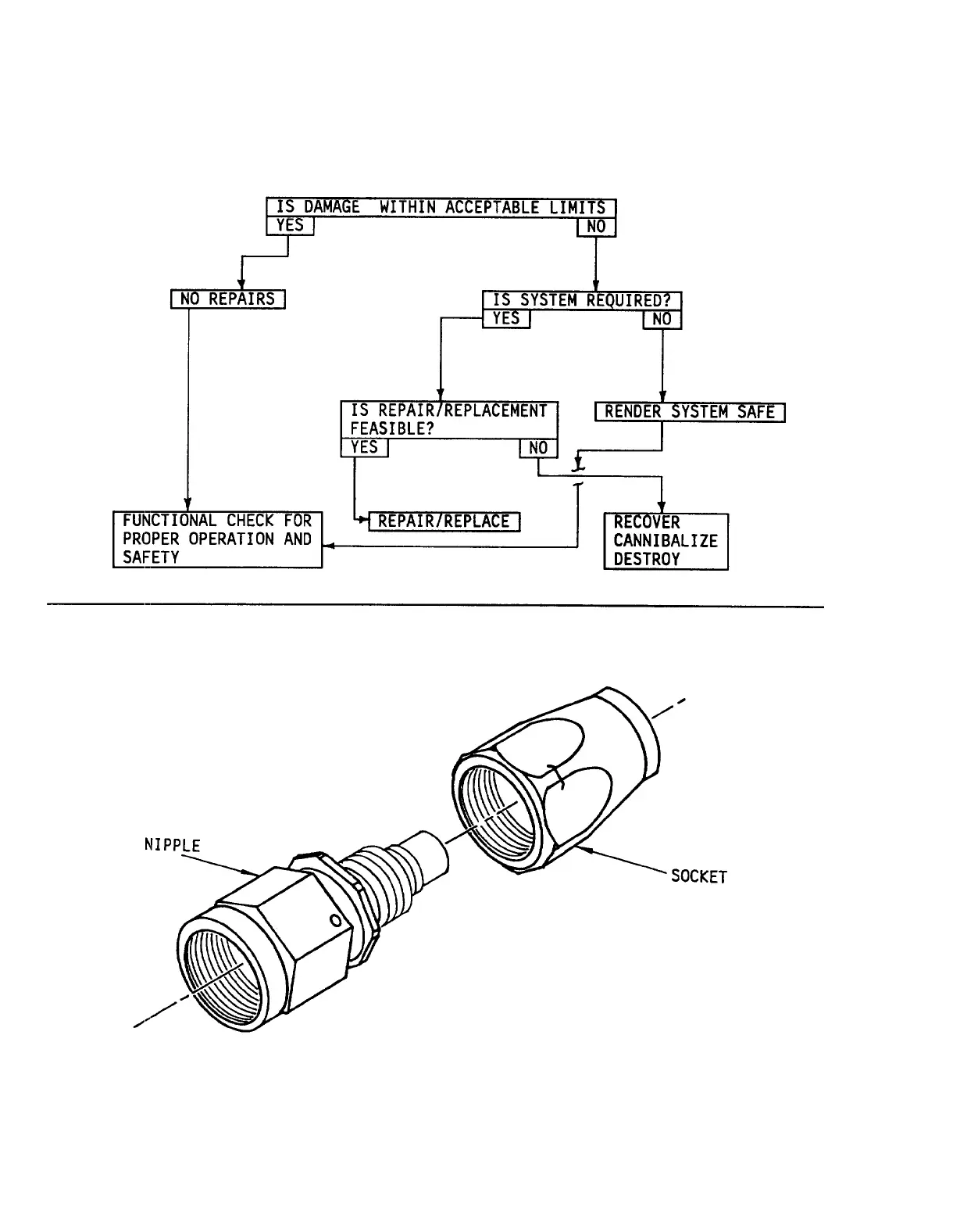
Table 9-1. Assessment
Logic
Figure 9-3. Two-Part Fitting
9-4

Table of Contents

Related product manuals