EasyManua.ls Logo

Bell OH-58A - Hose Assembly, Sealant, Nut, and Bolt

Bell OH-58A
333 pages
Print Icon
To Next Page IconTo Next Page
To Next Page IconTo Next Page
To Previous Page IconTo Previous Page
To Previous Page IconTo Previous Page
Loading...
TM 55-1520-228-BD
POWER PLANT
2.
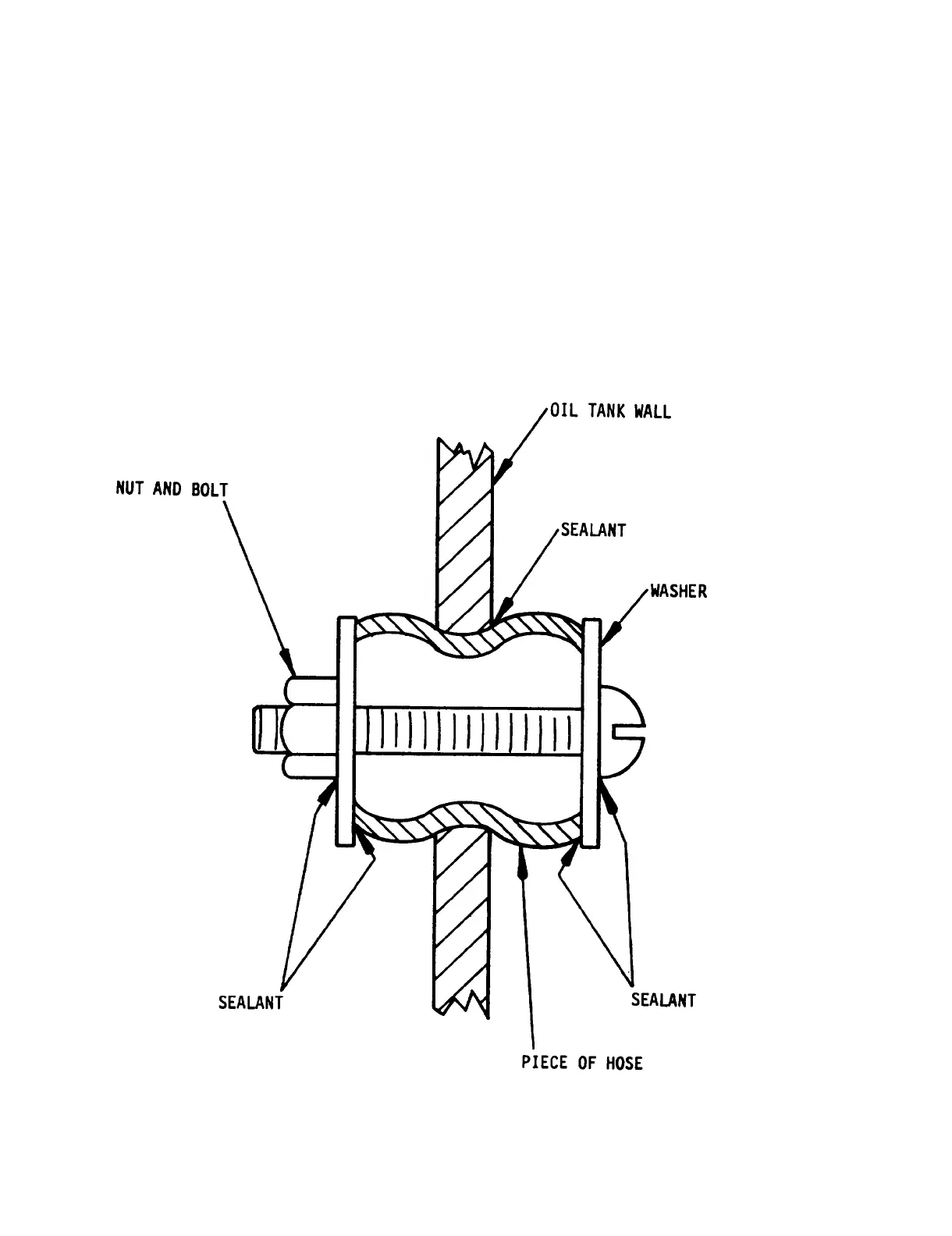
Use a piece of hose/tubing about the
same diameter of the hole. Assemble
bolt, hose/tubing, washer, and nut,
Figure 6-7.
Apply sealant to all
edges. Start nut on bolt and tubing
until assembly is snug.
3.
File edge of hole until round and
smooth.
Push hose assembly about half-
way through hole.
Tighten-nut on bolt
expand hose to seal hole.
If necessary,
remove oil tank plate to allow a wrench
or pliers inside of oil tank to hold
nut while turning bolt.
4.
If oil tank plate was removed,
reinstall.
5.
After sealant has dried, replenish
oil supply.
6.
Record BDAR action taken. When
mission is complete, as soon as
practical, repair the equipment/system
using standard maintenance procedures.
Figure 6-7.
Hose Assembly, Sealant, Nut, and Bolt
6-10

Table of Contents

Related product manuals