EasyManua.ls Logo

Bell OH-58A - Flight Control System Assessment Procedures

Bell OH-58A
333 pages
Print Icon
To Next Page IconTo Next Page
To Next Page IconTo Next Page
To Previous Page IconTo Previous Page
To Previous Page IconTo Previous Page
Loading...
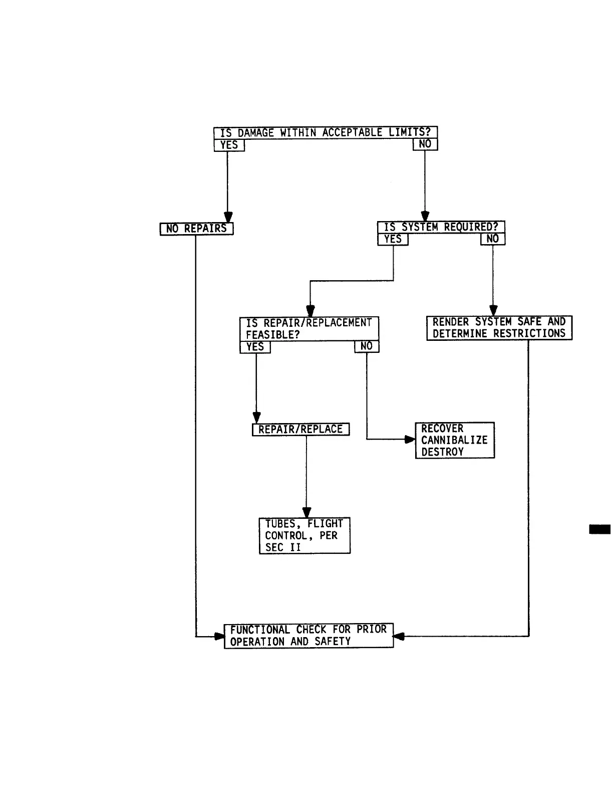
TM 55-1520-228-BD
FLIGHT CONTROLS SYSTEM
Table 13-1.
Flight Control System Assessment Procedures
13-3

Table of Contents

Related product manuals