EasyManua.ls Logo

Bell OH-58A - Sealant for Small Holes; Repair Using Screw, Washer and Gasket

Bell OH-58A
333 pages
Print Icon
To Next Page IconTo Next Page
To Next Page IconTo Next Page
To Previous Page IconTo Previous Page
To Previous Page IconTo Previous Page
Loading...
TM 55-1520-228-BD
POWER PLANT
4.
Replenish oil supply.
5.
Record BDAR action taken. When
mission is complete, as soon as
practical, repair the equipment/system
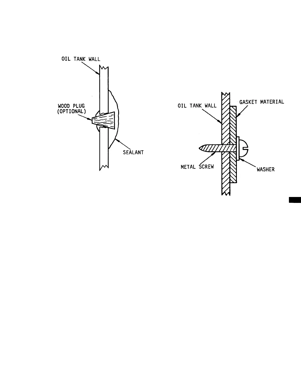
Figure 6-5.
Sealant for Small Holes
OPTION 4: Screw, Washer, and Gasket
(for small holes)
PERSONNEL/TIME REQUIRED:
. 1 Soldier
. 30 Minutes
MATERIALS/TOOLS REQUIRED:
. Screw, Sheet Metal
. Gasket Material (item 20, Appx C)
. Washer
PROCEDURAL STEPS:
1.
Cut a piece of gasket material that
will overlap the hole by about 1 inch
from the center of the hole.
2. Pierce a small hole in the center of
the gasket material.
3. Using the sheet metal screw and
washer, screw the gasket material
through the pierced hole and through the
small hole on the oil tank onto the oil
tank wall to stop the leak, Figure 6-6.
using standard maintenance procedures
Figure 6-6.
Repair Using Screw,
Washer and Gasket
OPTION 5: Hose Assembly, Sealant, Nut
and Bolt.
PERSONNEL/TIME REQUIRED:
. 1 Soldier
. 2 Hours
MATERIALS/TOOLS REQUIRED:
. Nut, Bolt, and Washer
. Sealant, Silicon (item 4, Appx C)
or Equivalent
. Hose or Tubing
. Solvent, Naptha (item 7, Appx C)
or Equivalent
PROCEDURAL STEPS:
1.
Clean area around hole with solvent
to remove all traces of oil so sealant
will stick.
6-9

Table of Contents

Related product manuals