EasyManua.ls Logo

Bell OH-58A - Page 97

Bell OH-58A
333 pages
Print Icon
To Next Page IconTo Next Page
To Next Page IconTo Next Page
To Previous Page IconTo Previous Page
To Previous Page IconTo Previous Page
Loading...
TM 55-1520-228-BD
AIRFRAME
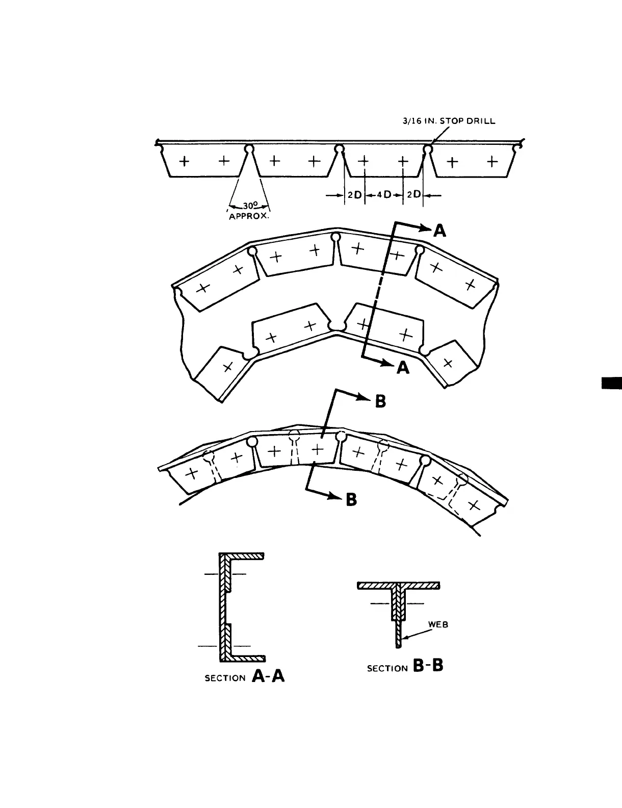
Figure 4-16.
Typical Former Repair (Sheet 2 of 2)
4-53

Table of Contents

Related product manuals