EasyManua.ls Logo

Beyerdynamic MCS-D 200 - Page 42

Beyerdynamic MCS-D 200
88 pages
Print Icon
To Next Page IconTo Next Page
To Next Page IconTo Next Page
To Previous Page IconTo Previous Page
To Previous Page IconTo Previous Page
Loading...
MCS-D 200 – Menu
42
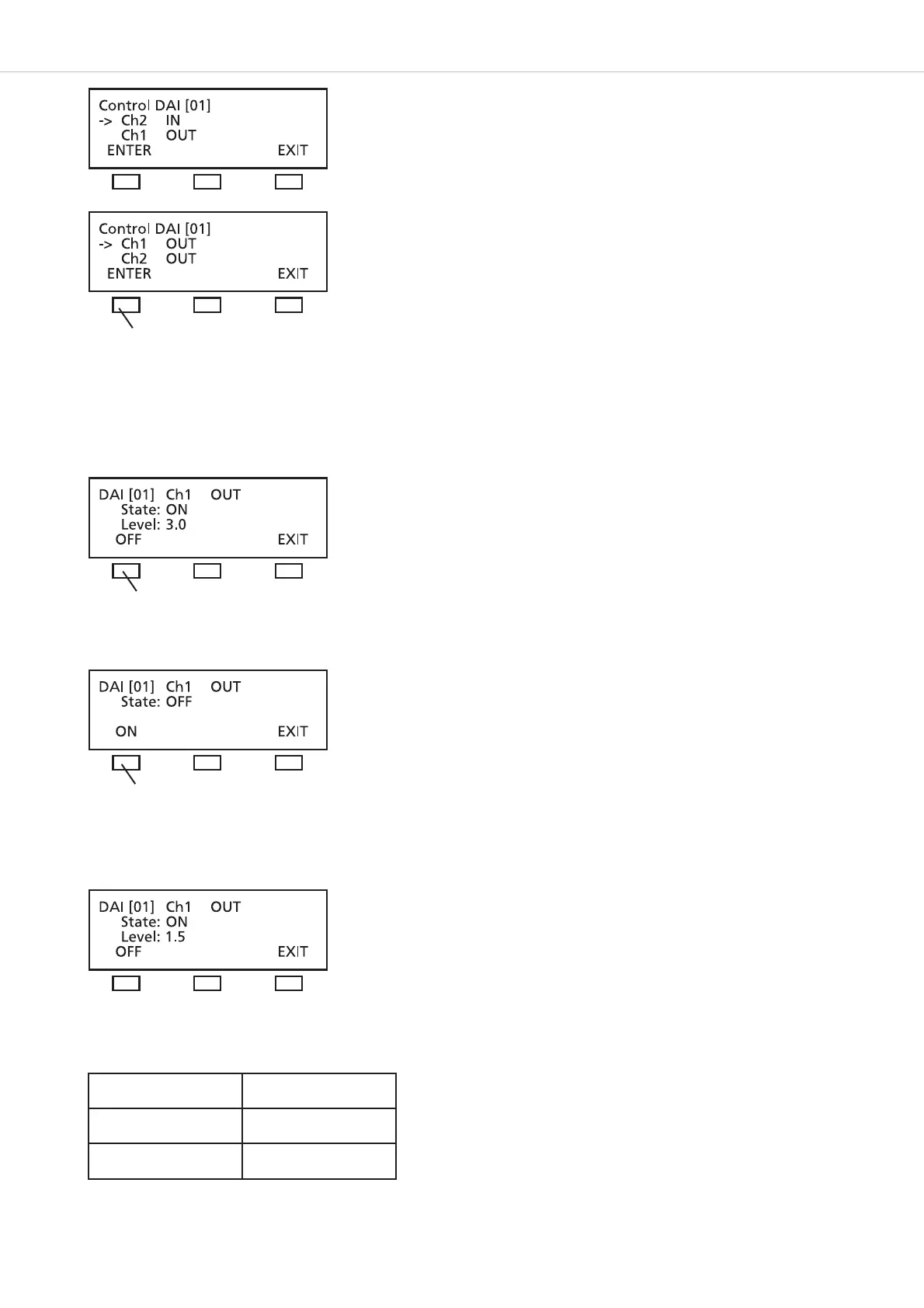
How to switch off a channel:
Warning:
Unused DAI inputs must be OFF, to avoid noise!
How to switch on a channel:
How to set the level:
press the ENTER button for CH 1 OUT
press the OFF button
press the ON button
INTERNAL DAI level EXTERNAL DAI level
IN: -28.5 dB…+18 dB IN: -9.5 dB…+13 dB
OUT: -78 dB…+16.5 dB OUT: -24 dB…+22.5 dB

Table of Contents

Related product manuals