EasyManua.ls Logo

Boca Systems Lemur - Appendix B - Vertical Printer Installation

Boca Systems Lemur
51 pages
Print Icon
To Next Page IconTo Next Page
To Next Page IconTo Next Page
To Previous Page IconTo Previous Page
To Previous Page IconTo Previous Page
Loading...
32
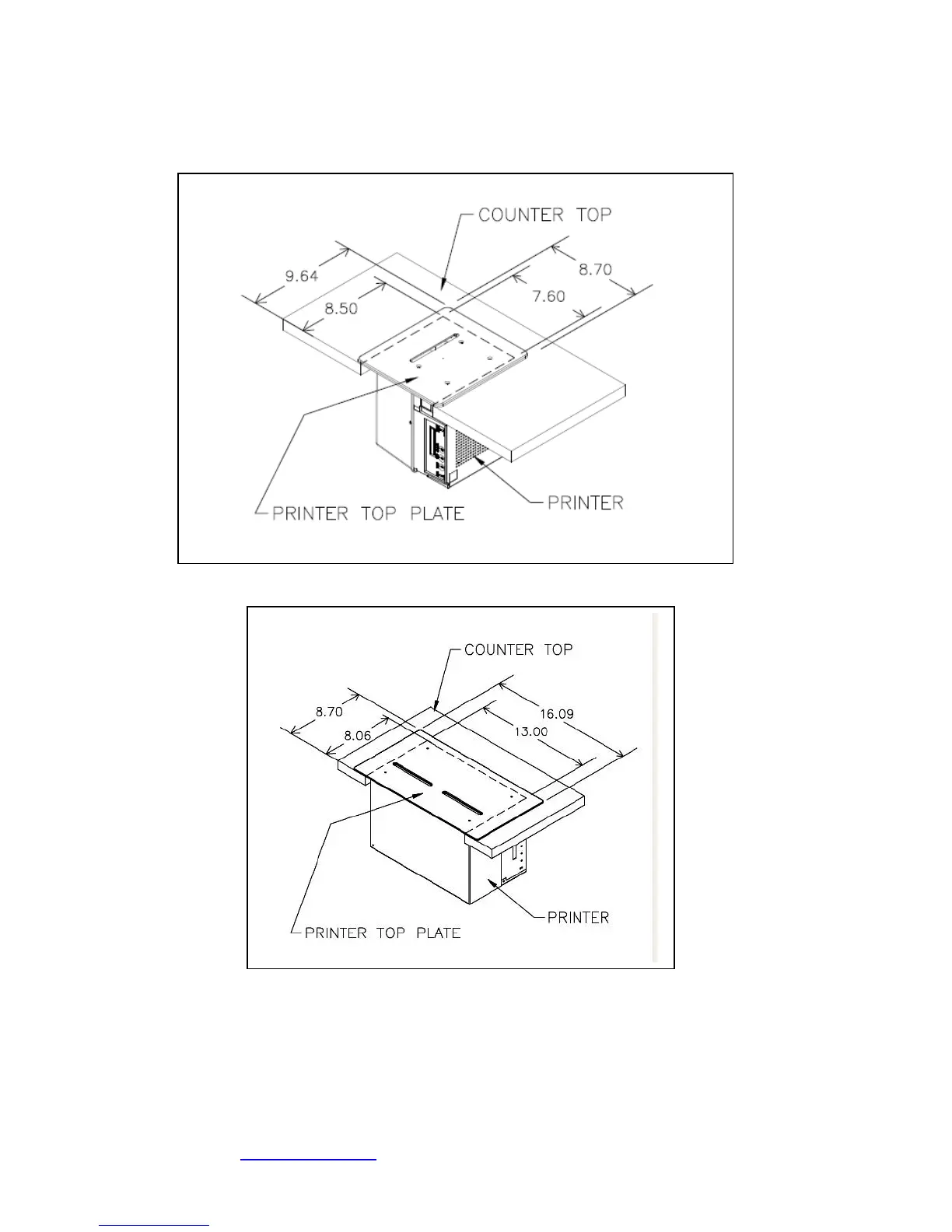
APPENDIX B - VERTICAL PRINTER INSTALLATION
Prepare the counter top by cutting a rectangular hole in accordance with the dimensions specified for your
printer model. NOTE: The table or counter top must be able to support at least four times the weight of
the printer.
Vertical Mount Lemur
Vertical Mount Lemur-2
Attach the top plate to the printer using only the supplied mounting hardware.
Insert the printer with the top plate attached into the countertop cutout.
Attach the power cord and the interface cable to the printer.
Turn the power switch to the ON position.
The printer is now ready for ticket stock to be loaded.
Click here to return to > Table of Contents

Related product manuals