EasyManua.ls Logo

Bosch Rexroth IPC - 230 VAC Power Connection Diagram

Bosch Rexroth IPC
99 pages
Print Icon
To Next Page IconTo Next Page
To Next Page IconTo Next Page
To Previous Page IconTo Previous Page
To Previous Page IconTo Previous Page
Loading...
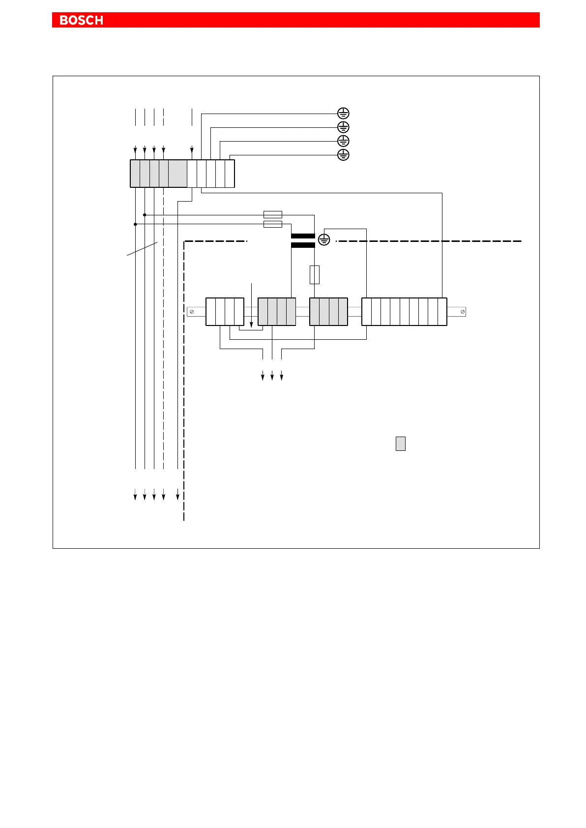
Electrical Connections
59
1070 073 822-104 (02.06) GB
4
2
(green/yellow)
L1
L2
L3
N
PE
U1
V1
W1
N
PEPE N1
16
2
(green/yellow)
min.16
2
(green/yellow)
to control cabinet housing
400 V
230 V
4
2
(green/yellow)
PE
N1
U2
4
2
(green/yellow)
16
2
(green/yellow)
to machine
6
2
(green/yellow)
all housing components (PE lug)
To utilize neutral
conductor N,
operator
permission is
required!
PE
10
2
(green/yellow)
PE terminal bar for = V wiring
(see Fig. 2)
= Terminals in
isolated arrangement
PE
PE
PE
PE
PE
Fuses; motor protection switch preferred
L1.1
L2.1
L3.1
N
230 V supply
IPC (see Fig. 3)
possibly. 230 V fan
Service sockets
U2
e.g., drives
Incoming mains
PE star-point connection
Transform
er, as per
EN 60742
230 VAC power connection via separation transformer

Table of Contents

Related product manuals