EasyManua.ls Logo

Bosch D1260 - Page 102

Bosch D1260
154 pages
Print Icon
To Next Page IconTo Next Page
To Next Page IconTo Next Page
To Previous Page IconTo Previous Page
To Previous Page IconTo Previous Page
Loading...
Part III: Advanced Commands
FIRE TEST ? (COMMAND + 5 + 8)
D1260 Owner’s Manual
50410C © 2003 Bosch Security Systems
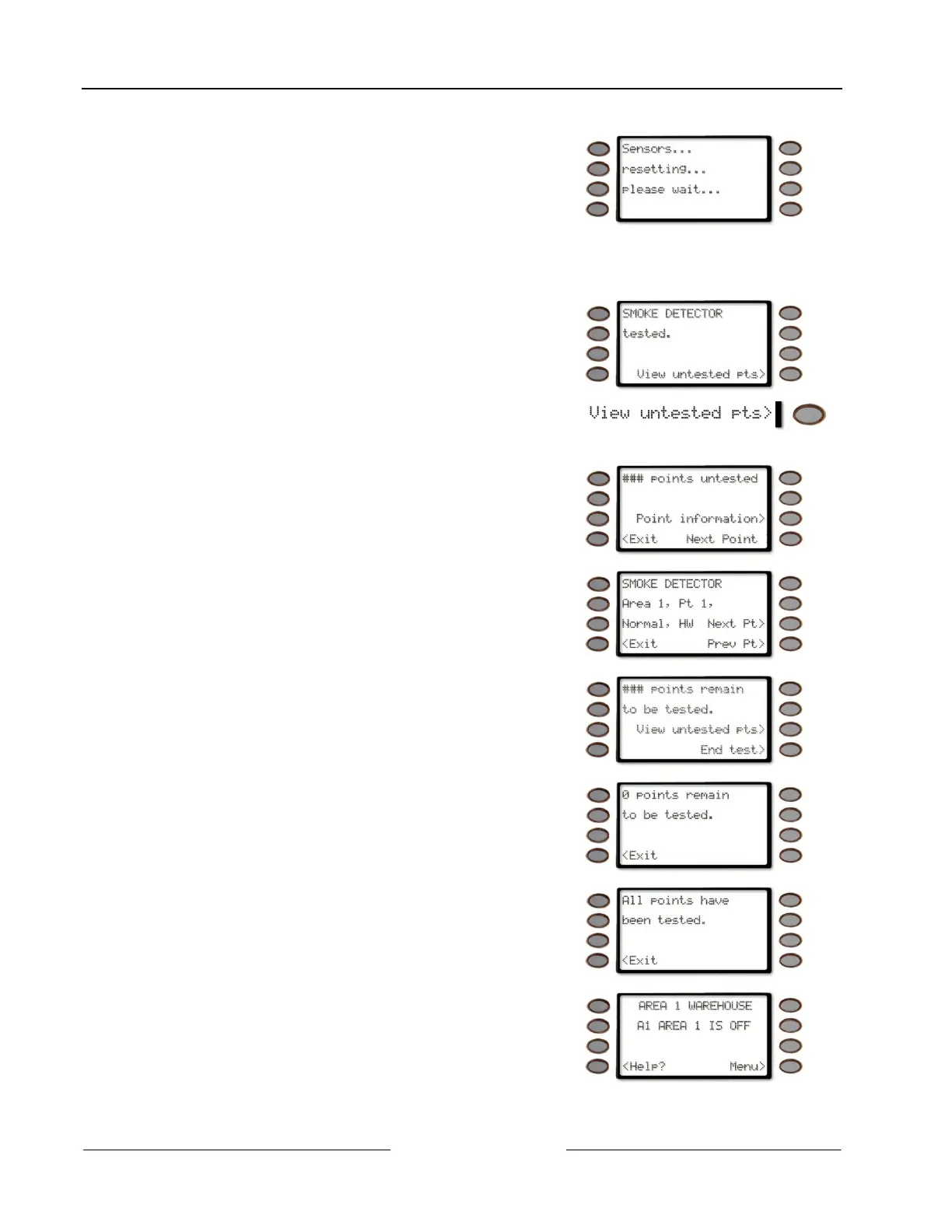
When a resettable point (such as a smoke
detector) is faulted, the display shows
Sensors…resetting…please wait… for 5 seconds.
During this time power is removed from smoke
power relays.
Faulting a point more than once does not increment the test count. However, the command
center emits a brief tone and displays the point text each time you fault the point allowing you
to test multiple devices assigned to one point.
7. When the point has been tested, the display changes to
show SMOKE DETECTOR tested.
8. During the Fire Test you may want to see the points
that remain untested by pressing the View untested
pts> soft key.
The display shows ### pts untested.
Press the Point information> soft key to see
information about specific points that have not yet
been tested.
The display changes to show the information for that
point.
Move through this list by pressing the Next Point>
soft key.
Press the <Exit soft key to return to the ### points
remain to be tested. before continuing the Fire Test.
9. When all 24-hour points have been tested, 0 points
remain to be tested is displayed.
Press the <Exit soft key.
The display momentarily shows All points have been
tested.
before returning to idle text.

Table of Contents

Other manuals for Bosch D1260

Related product manuals