EasyManua.ls Logo

Branson B Series - Page 23

Branson B Series
210 pages
Print Icon
To Next Page IconTo Next Page
To Next Page IconTo Next Page
To Previous Page IconTo Previous Page
To Previous Page IconTo Previous Page
Loading...
B Series Degreaser Controls
Rev G Page 27
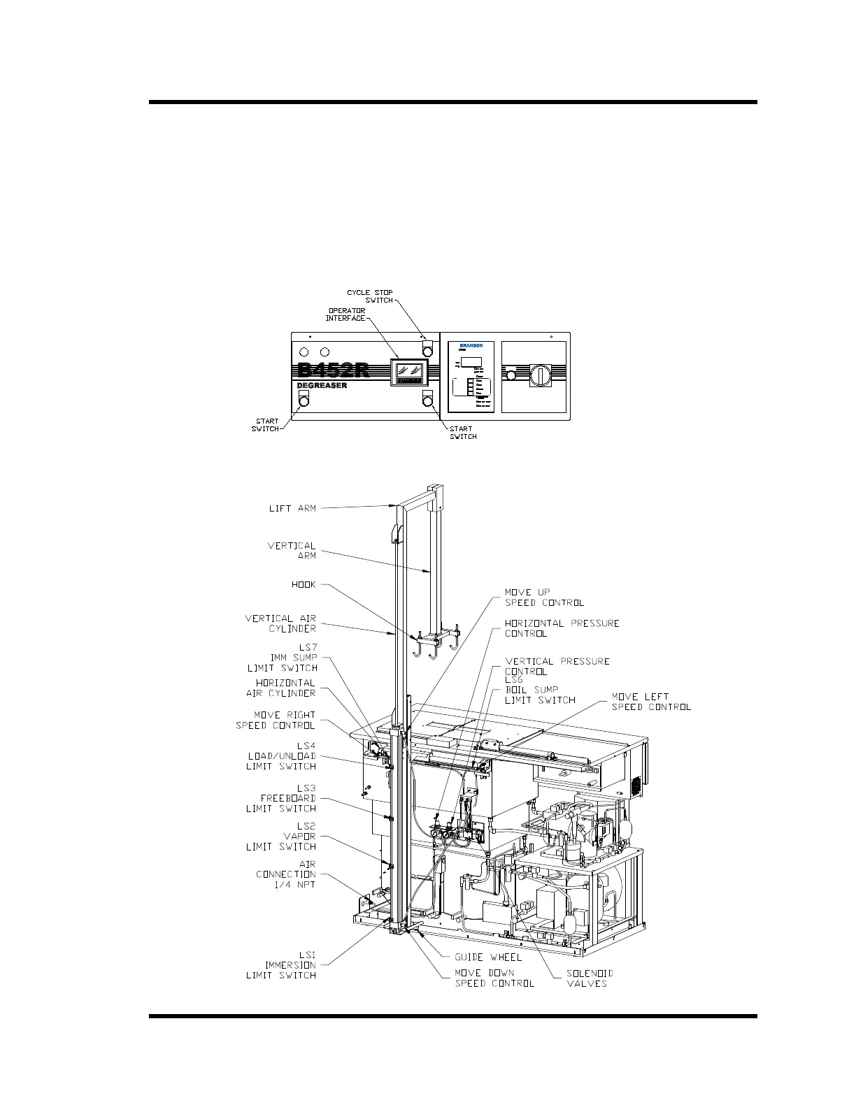
2.4.4 Dual Axis Lift Option (B452 and B950 Only)
The Dual Axis Lift Option automatically cycles the parts through the Boil Sump, Ultrasonic
Sump, Vapor Zone dwell, and Freeboard Zone dwell before returning to the load/unload
position. Dwell times are programmable. Immersion in the boiling or ultrasonic sumps may
be omitted if desired. Sprays and ultrasonics may be operated automatically. The power
cover (if equipped) will automatically open at the start and close at the completion of the lift
cycle. Parts baskets are manually loaded onto and unloaded from the lift hooks.
Figure 2-8 Dual Axis Controls
CYCLE STOP
START
START
SUB-ZERO
CONTROLS
POWER
DISCONNECT
Figure 2-9 Lift Components

Related product manuals