EasyManua.ls Logo

Brunswick Sync - Electrical Receptacle Locations; Overview

Brunswick Sync
72 pages
Print Icon
To Next Page IconTo Next Page
To Next Page IconTo Next Page
To Previous Page IconTo Previous Page
To Previous Page IconTo Previous Page
Loading...
Sync Pre-Installation 25
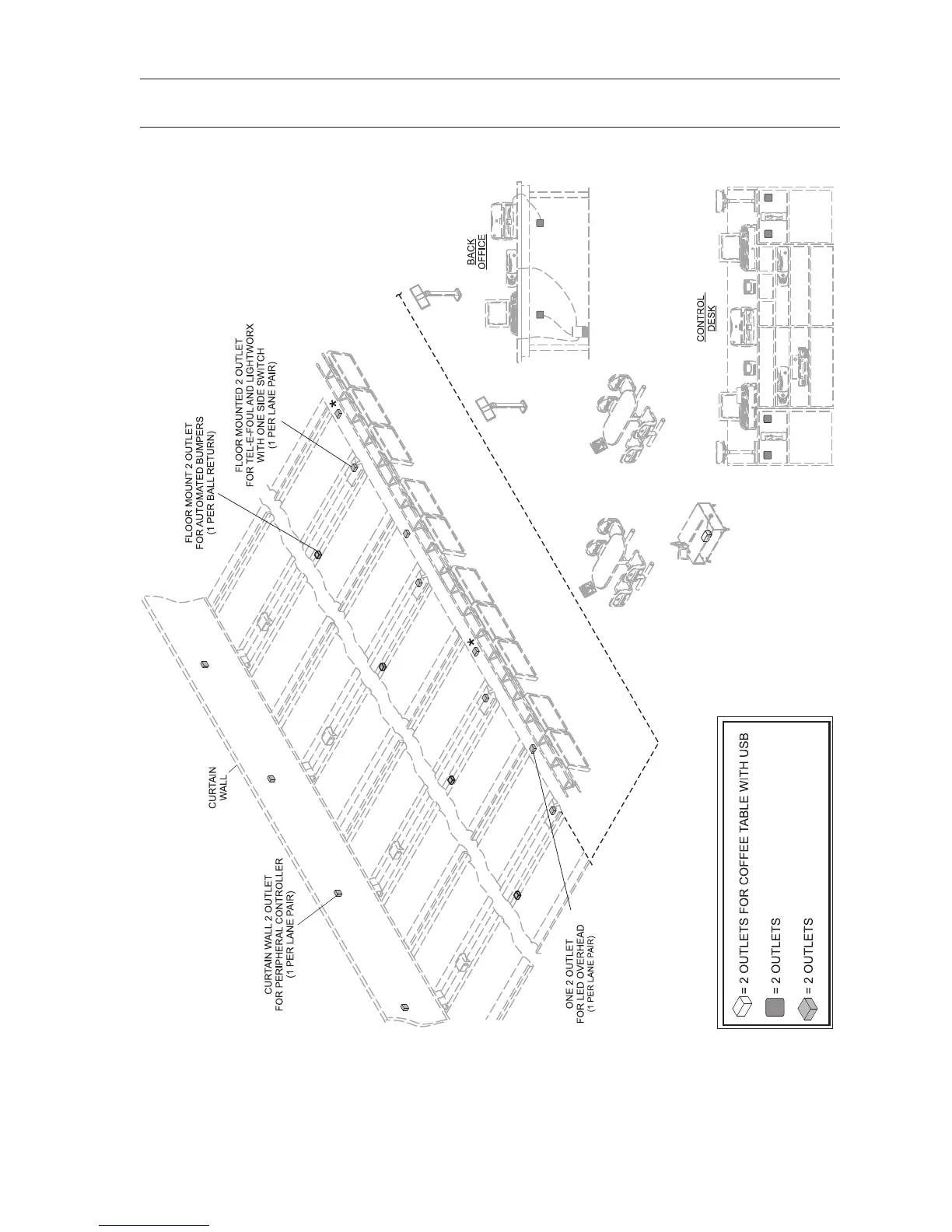
ELECTRICAL RECEPTACLE LOCATIONS
Overview

Table of Contents

Other manuals for Brunswick Sync

Related product manuals