EasyManua.ls Logo

Brunswick Sync - Bowlers Console Ethernet Switch

Brunswick Sync
72 pages
Print Icon
To Next Page IconTo Next Page
To Next Page IconTo Next Page
To Previous Page IconTo Previous Page
To Previous Page IconTo Previous Page
Loading...
36 Sync Pre-Installation
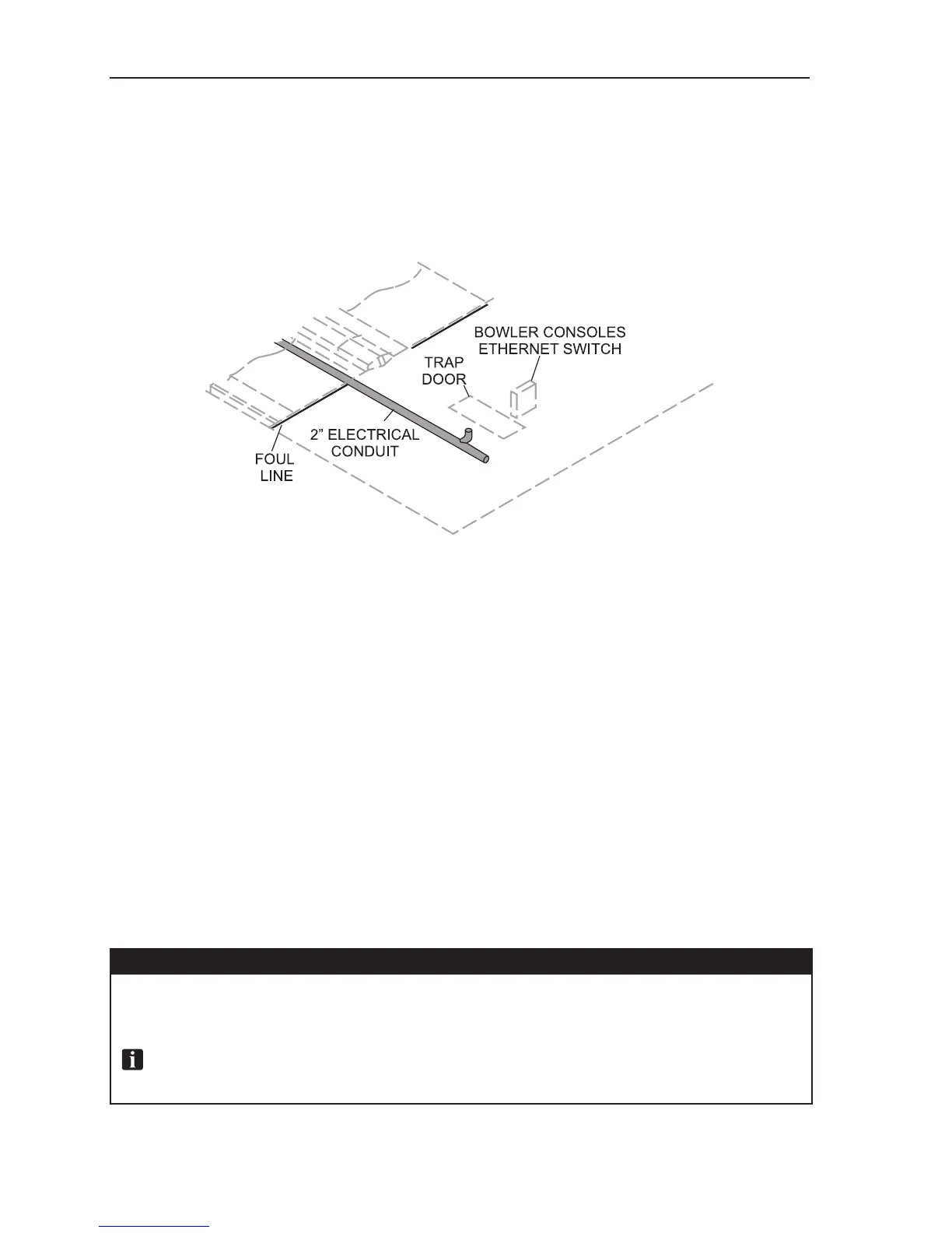
BOWLER’S CONSOLE ETHERNET SWITCH
INSTALLATION INFORMATION
CUSTOMER’S RESPONSIBILITY: A LOW VOLTAGE 2” ELECTRICAL CONDUIT FROM THE CENTER LINE OF THE BALL
LIFT TO THE TRAP DOOR IS REQUIRED FOR LOW VOLTAGE CABLES.
NOTE: Noseparatepoweroutletisneeded,poweravailablefromcurtainwallelectronics.

Table of Contents

Other manuals for Brunswick Sync

Related product manuals