EasyManua.ls Logo

Brunswick Sync - Oval Table

Brunswick Sync
72 pages
Print Icon
To Next Page IconTo Next Page
To Next Page IconTo Next Page
To Previous Page IconTo Previous Page
To Previous Page IconTo Previous Page
Loading...
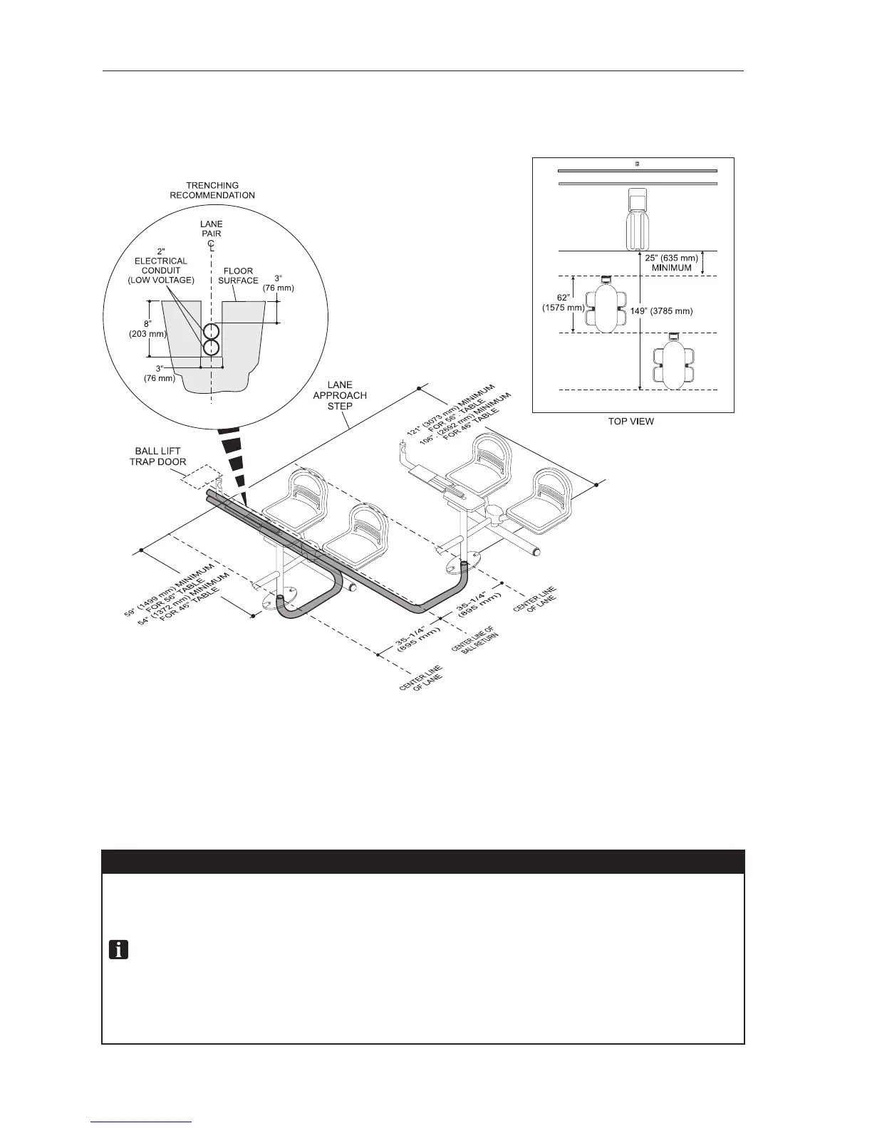
30 Sync Pre-Installation
Oval Table
INSTALLATION INFORMATION
CUSTOMER’S RESPONSIBILITY: TRENCH OR ROUTE 2 EACH 2” ELECTRICAL CONDUIT FOR LOW VOLTAGE
CABLES. THESE CONDUITS MUST BE 3” (76 MM) BELOW FLOOR SURFACE AND MEET LOCAL CODES.
NOTE:Aminimumspaceof25”(635mm)isrequiredbetweenthelaneapproachstepand
scorer.
BRUNSWICK RESPONSIBILITY: SUPPLY AND ROUTE LOW VOLTAGE CABLES TO THE BOWLER’S KEYPAD OR
TOUCH SCREEN.

Table of Contents

Other manuals for Brunswick Sync

Related product manuals